Комбинация приборов (с тахометром)
1. Повторители указателей поворота; 2. Спидометр; 3. Счетчик суммарно пройденного пути; 4. Счетчик пройденного пути за сутки; 5. Вольтметр; 6. Указатель уровня топлива; 7. Контрольные лампы; 8. Контрольные лампы КП; 9. Контрольные лампы; 10. Указатель температуры охлаждающей жидкости; 11. Указатель давления масла; 12. Тахометр
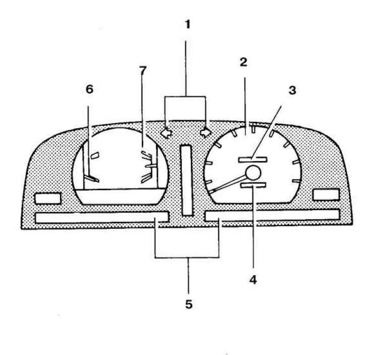
Комбинация приборов (без тахометра)
1. Повторители указателей поворота; 2. Спидометр; 3. Счетчик суммарно пройденного пути; 4. Счетчик пройденного пути за сутки; 5. Контрольные лампы; 6. Указатель температуры охлаждающей жидкости; 7. Указатель уровня топлива
Контрольные лампы
| Контрольная лампа неисправности тормозов | |
| Контрольная лампа разряда аккумуляторной батареи | |
| Контрольная лампа аварийного давления масла | |
| Контрольная лампа отказа систем двигателя | |
| Контрольная лампа неисправности антиблокировочной системы | |
| Контрольная лампа неплотного закрытия двери | |
| Контрольная лампа подушки безопасности | |
| Световой указатель засорения топливного фильтра | |
| Повторители указателей поворота | |
| Контрольная лампа дальнего света фар | |
| Контрольная лампа 4-ой передачи автоматической трансмиссии | |
| Контрольная лампа сигнала аварийной остановки | |
| Контрольная лампа включения обогревателя заднего стекла | |
| Контрольная лампа задних противотуманных фар | |
| Контрольная лампа включения свечи предпускового подогрева | |
| Контрольная лампа центрального замка |
