Оглавление: Снятие ↓ Проверка ↓
Снятие
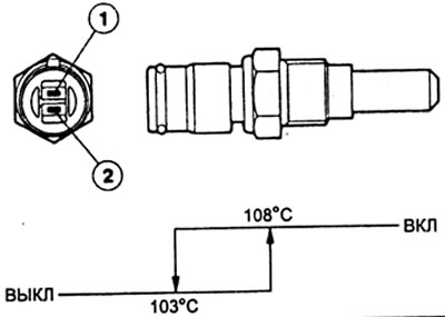
Снимите датчик, как показано на рисунке.

Проверка
Проверьте, что проводимость между клеммами датчика изменяется в соответствии приведенному графику (Проводимость должна быть при температуре выше 108°C и отсутствовать при температуре ниже 103°C).

