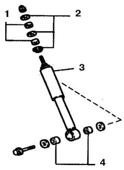
Детали крепления заднего амортизатора
1. Шайбы; 2. Подушки; 3. Амортизатор; 4. Втулки
Снятие и установка
1. Поднимите заднюю часть автомобиля, подставив подставки под балку моста, и снимите колеса.

2. Отсоедините нижние крепления (указаны стрелками) амортизаторов.

3. Отверните гайку верхнего крепления (указана стрелкой). Для этого гайку зафиксируйте ключом, а вращайте амортизатор.
Смотрите источник на интернет-ресурсе toyotaman.ru
4. Установка выполняется в обратном порядке.
5. Проследите за правильностью установки деталей.
