а) Отсоедините разъем от датчика-выключателя на топливном фильтре. Закоротите клеммы разъема со стороны проводов.

б) Снимите плавкий предохранитель "CHARGE" (Зарядка) и включите "зажигание". Должен загореться индикатор "FILTER" и раздаться звуковой сигнал.
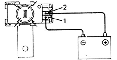
2. Проверка звукового сигнала.
а) Подсоедините аккумулятор к клеммам 2 (+) и 1 (-). Если звуковой сигнал не работает, его следует заменить.

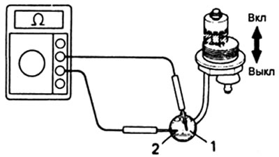
3. Проверка датчика-выключателя.
а) Проверьте отсутствие проводимости между клеммами выключателя, когда поплавок находится внизу.
б) Проверьте наличие проводимости между клеммами выключателя, когда поплавок находится вверху.

