а) При помощи образцового спидометра проверьте спидометр на величину погрешности и проверьте работу одометра.
Примечание: при износе протектора или неправильном давлении в шинах погрешность в показаниях спидометра увеличивается.
| Индикация (км/час) | Допустимый диапазон (км/час) |
| 20 | 20-25 |
| 40 | 40-46 |
| 60 | 60-67 |
| 80 | 80-88 |
| 100 | 100-109 |
| 120 | 120-131 |
| 140 | 140-152 |
| 160 | 160-173 |
б) Проверьте спидометр на отсутствие вибрации стрелки и уровень шума.
Примечание: дрожание стрелки может быть вызвано ослаблением крепления троса привода спидометра.
2. Проверка датчика скорости.
а) Проверьте возникновение проводимости между клеммами "А" и "В", по четыре раза за один оборот вала спидометра.
б) Если датчик работает не так, как указано, замените спидометр.

3. Проверка датчика звуковой сигнализации о превышении скорости.
а) Нажмите на выступы и снимите стекло комбинации приборов с корпуса.
Примечание: старайтесь не загрязнить и не повредить панель спидометра.
б) Передвиньте стрелку спидометра на деление, соответствующее 124 км/час и зафиксируйте в этом положении.
в) Вращайте вал спидометра: проводимость между клеммами "А" и "В" периодически должна появляется.

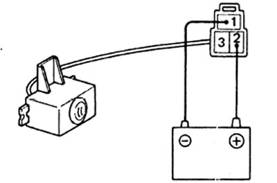
4. Проверка звукового сигнала превышения скорости. Периодически подключая напряжение аккумулятора к клеммам звукового сигнала, проверьте его работоспособность.
Примечание: звук сигнала исказится, если корпус его будет наклонен.

