Оглавление: Проверка и регулировка ↓ Замена ↓
Болты корпуса клапанов трансмиссии А43D

Болты корпуса клапанов трансмисии А34О

Проверка и регулировка
1. Убедитесь, что дроссельная заслонка полностью закрыта при отпущенной педали.
2. Проверьте натяжение троса.

3. Проверьте расстояние между оболочкой и ограничителем троса.
4. При необходимости отрегулируйте вращением контргаек.
Замена
1. Отсоедините трос от тяги (см. подраздел 5.9).
2. Освободите трос от хомутов в моторном отсеке.
3. Отверните болт хомута троса на картере гидротрансформатора.
4. Снимите поддон.

5. На трансмиссиях A340F/ А340Е отверните 3 болта и снимите соленоидные клапаны.
![]() | ![]() |
6. Снимите трубки, на трансмиссии А43 их можно достать, поддев отверткой, после чего необходимо отвернуть 5 винтов фильтра грубой чистки (рисунок слева). Для снятия трубок на трансмиссии А340Е подденте их отверткой (рисунок справа).

7. В трансмиссии А340F имеется только 1 трубка. Для снятия подденте трубку отверткой.

8. Снимите фильтр грубой очистки трансмиссии (если предусмотрен).
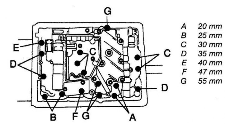
9. Отверните 17 болтов и снимите корпус клапанов (cм. рис. Болты корпуса клапанов трансмисии А43D и рис. Болты корпуса клапанов трансмисии А34О). При сборке корпуса клапанов трансмиссии A43D необходимо завернуть болты, которые имеют разную длину, в сооответствии со схемой. При сборке корпуса клапанов трансмиссии A430 необходимо завернуть болты в сооответствии со схемой. Перед отворачиванием последнего болта придерживайте корпус с помощником.

10. Опустите корпус и отсоедините трос от кулачка.
![]() | ![]() |
11. Достаньте трос из трансмиссии. На трансмиссии А43 вытолкните трос 10 мм – торцевой головкой (рисунок слева). На трансмиссии А340 отверните болт и достаньте трос (рисунок справа).
12. Пропустите новый трос. На трансмиссии А340 затяните болт.
13. Присоедините трос к кулачку.
![]() | ![]() |
(Смотрите источник на интернет-ресурсе ToyotaMan.ru)
14. Перед установкой корпуса клапанов совместите канавку на клапане ручного привода со штифтом на рычаге (на рисунке слева показана трансмиссия А43, на рисунке справа – трансмиссия А340).

15. Перегните трос так, чтобы радиус кривизны был около 200 мм. Втолкните трос до ощущения слабого сопротивления и расклепайте ограничитель на расстоянии 0,8–1,5 мм от торца оболочки троса.
16. Далее сборка выполняется в обратном порядке. При необходимости отрегулируйте трос.






