Сбросьте давление в топливной системе.
Металлические топливные трубки проложены под днищем автомобиля и закреплены зажимами и винтами-саморезами. Периодически осматривайте их на отсутствие утечек и повреждений.
Если при замене топливного фильтра в нем и топливных трубопроводах имеется грязь, обязательно отсоедините трубопроводы и продуйте их сжатым воздухом. Также проверьте состояние сетчатого фильтра на блоке топливного насоса.
Никогда не используйте медные или алюминиевые трубки взамен стальных трубок установленных на автомобиле, так как они могут не выдержать вибрации при эксплуатации автомобиля.
Так как топливные трубки находятся под высоким давлением, они требуют специального обслуживания.
Некоторые топливные трубки имеют резьбовые соединения с уплотнительными кольцами, которые необходимо развинтить перед обслуживанием или заменой компонентов. В таких соединениях используются конусные гайки, которые при затягивании гайки, дополнительно обжимают соединение. Уплотнительные кольца проверьте на отсутствие трещин и повреждений и при необходимости замените. Если проводится замена стальных трубок, устанавливайте только оригинальные трубки.
Гибкие топливные шланги должны располагаться на расстоянии не менее 100 мм от элементов системы выпуска отработавших газов и 250 мм от каталитического нейтрализатора.
На некоторых моделях устанавливают нейлоновые топливные шланги с быстросъемными соединителями. В этом случае при необходимости замены одного шланга проводите замену шлангов в комплекте с быстросъемными соединителями.
Замену топливных трубок/шлангов производите следующим образом.
Сбросьте давление в топливной системе.
Освободите все зажимы, крепящие трубку/шланг к кузову автомобиля.
На обычных соединениях стальной топливной трубки и шланга, ослабьте хомут, затем вытяните трубку их шланга. Проворачивание в разные стороны трубки и шланга облегчает процесс разъединения.
Рис. 5.3. Открытие зажима (1) быстросъемного соединителя
Рис. 5.4. Нажатие фиксаторов и извлечение трубки из быстросъемного соединителя
Если соединение шлангов осуществляется быстросъемным соединителем, откройте и снимите зажим, затем одной рукой с двух сторон нажмите фиксаторы, а другой рукой извлеките трубку из соединителя (рис. 5.3, 5.4).
При соединении трубок и шлангов обязательно устанавливайте новые уплотнительные кольца (если предусмотрено конструкцией).
На быстросъемных соединителях совместите трубку с соединителем и вставьте трубку в соединитель до защелкивания ее фиксаторами.
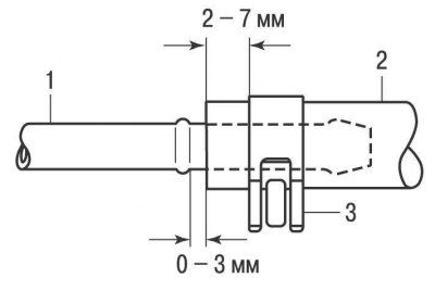
Рис. 5.5. Обычное соединение шланга со стальной трубкой: 1 – стальная трубка; 2 – шланг; 3 – хомут
При обычном соединении шланга со стальной трубкой надвиньте шланг на трубку и закрепите соединение хомутом (рис. 5.5).
