Внимание! См. предупреждения в начале Раздела Проверка исправности функционирования и замена прерывателя указателей поворотов/аварийной сигнализации и выключателя последней.
1. Отсоедините отрицательный провод от батареи.
Внимание! Если установленная на автомобиле стереосистема оборудована охранным кодом, прежде чем отсоединять батарею удостоверьтесь в том, что располагаете правильной комбинацией для ввода аудиосистемы в действие!
2. Поддев, высвободите выключатель обогрева заднего стекла из своего посадочного гнезда в панели приборов, отсоедините электропроводку.

3. Удостоверьтесь в наличии проводимости между клеммами 1 и 3 контактного разъема электропроводки со стороны реле (обратитесь к сопроводительной иллюстрации). Если проводимость отсутствует, замените лампу.

4. При помощи проводов-перемычек подключите положительный полюс батареи к клемме №2 контактного разъема выключателя, отрицательный клемме №4. Далее, через лампу-пробник на 3.4 Вт подключите положительный полюс батареи к клемме №6 (обратитесь к сопроводительной иллюстрации). Включите обогреватель, контрольная лампа и лампа-пробник должны включиться на 12–18 минут, затем погаснуть. Неисправный выключатель полежит замене.

5. Отсоедините от выключателя электропроводку и произведите проверку его разъема со стороны жгута (обратитесь к сопроводительной иллюстрации):
- a. Между клеммой №4 и массой проводимость должна иметь место постоянно;
- b. В положениях LOCK и АСС ключа зажигания напряжение между клеммой 2 и массой и между клеммой 6 и массой должно отсутствовать;
- c. В положении ON ключа напряжение между оговоренными в пункте (b) парами клемм должно иметь место;
- d. Перемкните между собой клеммы 4 и 6 контактного разъема и удостоверьтесь в исправности функционирования нагревательного элемента обогревателя заднего стекла.
6. Неисправный выключатель подлежит замене.

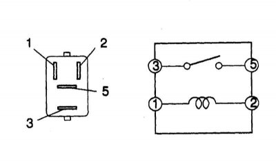
7. Для проверки исправности функционирования реле обогревателя (расположено в салонном монтажном блоке предохранителей) удостоверьтесь в постоянном присутствии проводимости между клеммами 1 и 2 сборки (обратитесь к сопроводительной иллюстрации). Подайте напряжение между клеммами 1 и 2 и удостоверьтесь в наличии проводимости между клеммами 3 и 5.
8. Неисправное реле подлежит замене.
