Примечание. Ниже приведено описание процедуры демонтажа антенны наружного типа. Некоторые модели оборудованы наклеиваемой на ветровое стекло антенной, обслуживание таких антенн лежит вне пределов квалификации среднестатистического механика-любителя и должно быть поручено специалистам автосервиса.

Снимите радиоприемник и отсоедините от него антенный кабель (см. Раздел Снятие и установка аудиосистемы и ее динамиков). «Пройдитесь» по антенному кабелю, высвобождая его из промежуточных фиксаторов. Подвяжите к концу кабеля отрезок струны. Трасса прокладки кабеля антенны представлена на сопроводительной иллюстрации.
Антенна с фиксированной мачтой
1. При помощи маленького рожкового ключа подходящего размера выверните мачту антенны из своего основания.

2. Отдайте гайку крепления сборки основания антенной мачты (обратитесь к сопроводительной иллюстрации), воспользуйтесь плоскогубцами для снятия стопорных колец. Потянув, извлеките наружу антенный кабель (оставьте подвязанную к кабелю струну продетой в отверстие под установку мачты). Тщательно удалите все следы грязи и ржавчины с места крепления антенны.
3. Подвяжите к струне кабель новой антенны и втяните его внутрь кузовного элемента.
4. Дальнейшая установка производится в порядке обратном порядку демонтажа компонентов.
Антенна с электроприводной мачтой
Примечание. Для выполнения данной процедуры потребуется помощь ассистента.
Примечание. Система содержит реле. Если привод антенны перестал функционировать, прежде всего, проверьте реле. Э/мотор привода редко выходит из строя.
1. Если отключали, подключите аккумуляторную батарею и поверните ключ зажигания в положение LOCK.
2. Отдайте гайку крепления основания антенной мачты (обратитесь к иллюстрации выше).
3. Далее один человек должен находиться в салоне автомобиля, второй – удерживать антенную мачту. Попросите помощника одновременно нажать на кнопку AM/FM на панели управления радиоприемника и повернуть ключ зажигания в положение АСС, антенная мачта должна выдвинуться на всю длину своего хода, после чего ее можно отсоединить от приводного электромотора. Снимите мачту, ключ зажигания оставьте в положении АСС.

4a. Снимите локер защиты колесной арки соответствующего крыла автомобиля (см. Главу Кузов) и отболтите от крыла электромотор привода антенной мачты. Полностью вытяните антенный кабель наружу, оставив подвязанную к ней струну продетой в отверстие в кузовном элементе (обратитесь к сопроводительной иллюстрации).

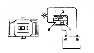
4b. Отпустите три фиксатора и снимите панель облицовки колесной арки, затем отдайте крепежный болт и снимите приводной электромотор (обратитесь к сопроводительной иллюстрации).

4с. Полярность клемм разъем электромотора привода антенны смотрите на сопроводительной иллюстрации.
5. Подвяжите к оставленной продетой сквозь кузовную панель струне кабель новой антенны и втяните его назад в салон автомобиля.
6. Установите на свое штатное место электромотор привода антенной мачты.
7. Установите антенную мачту, развернув кабель зубчатой стороной вперед по автомобилю.
8. Поверните ключ зажигания в положение LOCK, кабель должен смотаться, а мачта, втянуться внутрь крыла.
Примечание. Если ключ по какой-либо причине был ранее переведен из положения АСС в положение LOCK, повторите процедуру, описанную в параграфе 8. Если при повороте ключа в положение LOCK кабель не начинает сматываться, пошевелите его на входе в механизм, чтобы нижний конец развернулся и был захвачен катушкой.
9. Наверните гайку крепления основания антенной мачты, даже если последняя еще не до конца втянулась в панель крыла. Мачта должна втянуться окончательно при нажимании на какую-либо из кнопок выбора радиодиапазона на панели управления радиоприемником.
10. Дальнейшая установка производится в порядке обратном порядку демонтажа компонентов.
