Компания Хонда Компания Форд Компания Шкода Компания Киа Компания Мазда Компания Мерседес Компания Рено
Русский English
Български
Беларускі
Український
Српски
Hrvatski
Română
Polski
Slovenský
Magyar
В закладки Статьи Карта Контакты
ToyotaMan.ru
 
 
 
 
 
 
 
 
 
Camry Corolla Corona Carina Land Cruiser Highlander 4Runner RAV4 Другие
Карина Т190 (1992-1996) Карина Т170 (1988-1992)

Проверка реле задних габаритов, реле противотуманных фар, реле освещения при повороте [Toyota Carina T190]

  • Главная
  • Карина
  • T190 (1992-1996)
  • Электрооборудование
  • Оборудование и приборы
  • Проверка реле задних габаритов, реле противотуманных фар, ре…
0
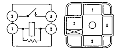
1. Проверьте постоянное наличие проводимости между выводами "1" и "2".



2. Проверьте наличие проводимости между выводами "3" и "5" при подаче напряжения аккумуляторной батареи на выводы "1" и "2".

Данный материал взят с ресурса: Toyotaman.ru
Эта статья доступна на: английском, болгарском, белорусском, украинском, сербском, хорватском, румынском, польском, словацком, венгерском
Материал статьи был проверен: Кондратьева Ульяна
Поделитесь информацией:
◀ Предыдущие
Карина Т190: Оборудование и приборы
Следующие ▶

Проверка реле фар
Проверка замка зажигания
Блоки реле
Монтажный блок №2 (в моторном отсеке)
Монтажный блок №1 (под панелью приборов)
Проверка датчика освещенности
Устройство очистителя и омывателя заднего стекла
Устройство очистителя и омывателя лобового стекла
Снятие переключателя управления стеклоочистителем
Проверка переключателя управления стеклоочистителем
Похожие статьи по другим моделям Тойота

➥ Проверка реле противотуманных фонарей Тойота Корона Т190 (1992-1997)
➥ Реле — проверка и замена Тойота РАВ 4 ХА10 (1994-2000)
➥ Реле индикатора неисправности освещения Тойота Дюна Y50/Y60 (1984-1995)
➥ Реле передней оси — проверка и замена Тойота 4 Раннер N120 (1989-1995)
➥ Проверка реле проверки ламп (модификации) Тойота Крузер 70 (1985-1996, дизель)
➥ Проверка реле Тойота Королла Е80 (1983-1990)
Ссылка в разных форматах на эту статью
Комментарии и отзывы посетителей
Комментариев пока нет


Сложите два числа 42 + 15

       





Карина Т190 (1992-1996) 
  • Общая информация
  • Руководство по эксплуатации
  • Техническое обслуживание
  • Силовой агрегат
  • Двигатели 4A-FE, 5A-FE, 7A-FE
  • Двигатели 3S-FE, 4S-FE
  • Дизельные двигатели 2C
  • Ремонт двигателей
  • Система охлаждения
  • Система смазки
  • Топливная система
  • Система управления (дизель)
  • Система впрыска топлива
  • Электрооборудование двигателя
  • Трансмиссия
  • Сцепление
  • Механическая коробка
  • Автоматическая коробка
  • Приводные валы
  • Шасси, ходовая часть
  • Подвеска автомобиля
  • Рулевое управление
  • Тормозная система
  • Кузов и салон
  • Экстерьер (внешние элементы)
  • Интерьер (внутренние элементы)
  • Кондиционер и отопитель
  • Электрооборудование
  • Оборудование и приборы
  • Фары и освещение
  • Выключатели и переключатели
  • Электрические схемы
Карина Т170 (1988-1992) 
  • Общая информация
  • Введение в руководство
  • Силовой агрегат
  • Бензиновые двигатели
  • Дизельные двигатели
  • Система смазки
  • Система охлаждения
  • Топливная система (карбюратор)
  • Топливная система (инжектор)
  • Система зажигания
  • Трансмиссия
  • Сцепление
  • Коробка передач
  • Приводные валы
  • Шасси, ходовая часть
  • Передняя подвеска
  • Задняя подвеска
  • Рулевое управление
  • Тормозная система
  • Электрооборудование
  • Силовые устройства
  • Электрические схемы
Автомобильный анекдот
показать ещё один
ToyotaMan.ru © 2018–2026 • Мобильная версия • Интересное о Тойоте • Администрация • Карта сайта: EN BG BY UA RS HR RO PL SK HU • Система поиска • В закладки
Camry Vista-V40 • Camry XV10 • Camry XV20 • Camry XV30 • Corolla Verso-AR10 • Corolla E80 • Corona T190 • Carina T170 • Carina T190 • Land Cruiser J70 (дизель) • Land Cruiser J60 (бензин) • Land Cruiser J100 • Highlander XU20 (бензин) • 4Runner N120 • RAV4 XA10 • Duet M100 • Dyna Y50 • Автомобильные новости • Ремонт японских автомобилей • Обслуживание японских авто • Гидравлические АКПП Тойота • Электронные АКПП Тойота • Правила безопасного вождения