Оглавление: Сведения о диагностических приборах ↓ Общая информация ↓ Считывание кодов неисправностей…↓ Очистка памяти OBD-II ↓
Примечание. Все рассматриваемые модели комплектуются системами OBD II (второго поколения), для считывания данных из памяти которых требуется специальный сканер. Ввиду сказанного выше, считывание кодов неисправностей из памяти системы OBD II следует поручить специалистам фирменной станции техобслуживания, располагающим всем необходимым диагностическим оборудованием. На всех оборудованных OBD II моделях используются пятизначные диагностические коды, часть из которых приведено в тексте настоящего Раздела, более подробная информация может быть получена в представительских отделениях компании Toyota.
Сведения о диагностических приборах

Проверка исправности функционирования компонентов систем впрыска и снижения токсичности отработавших газов производится при помощи универсального цифрового измерителя (мультиметра) (обратитесь к сопроводительной иллюстрации).
Использование цифрового измерителя предпочтительно по нескольким причинам. Во-первых, по аналоговым приборам достаточно сложно (порой, невозможно), определить результат показания с точностью до сотых и тысячных долей, в то время как при обследовании контуров, включающих в свой состав электронные компоненты, такая точность приобретает особое значение. Второй, не менее важной, причиной является тот факт, что внутренний контур цифрового мультиметра, имеет достаточно высокий импеданс (внутреннее сопротивление прибора составляет 10 миллионов Ом). Так как вольтметр подсоединяется к проверяемой цепи параллельно, точность измерения тем выше, чем меньший паразитный ток будет проходить через собственно прибор. Данный фактор не является существенным при измерении относительно высоких значений напряжения (9–12 В), однако становится определяющим при диагностике выдающих низковольтные сигналы элементов, таких, как, например, лямбда-зонд, где речь идет об измерении долей вольта.

Наиболее удобными приборами для диагностики систем управления двигателем современных моделей автомобилей являются ручные считыватели сканерного типа (обратитесь к сопроводительной иллюстрации). Перед применением считыватель следует проверить на соответствие модели и году выпуска проверяемого автомобиля. Некоторые сканеры являются многофункциональными, за счет возможности смены картриджа в зависимости от модели диагностируемого автомобиля (Ford, GM, Chrysler и т.п.), другие привязаны к требованиям региональных властей и предназначены для использования в определенных районах мира (Европа, Азия, США и т.д.).
С введением в производство отвечающей требованиям последних законодательств по охране окружающей среды системы бортовой диагностики второго поколения (OBD-II) начали выпускаться считыватели специальной конструкции. Некоторые производители наладили выпуск сканеров, предназначенных для использования механиками-любителями в домашних условиях, – спрашивайте в магазинах автомобильных аксессуаров.
Примечание. Несмотря на то, что считывание кодов неисправностей в системах OBD II не представляется возможным без использования специального сканера, ниже, в Разделе Информационные датчики - общая информация и проверка исправности функционирования приведено описание некоторых простейших проверок отдельных компонентов системы.
Общая информация
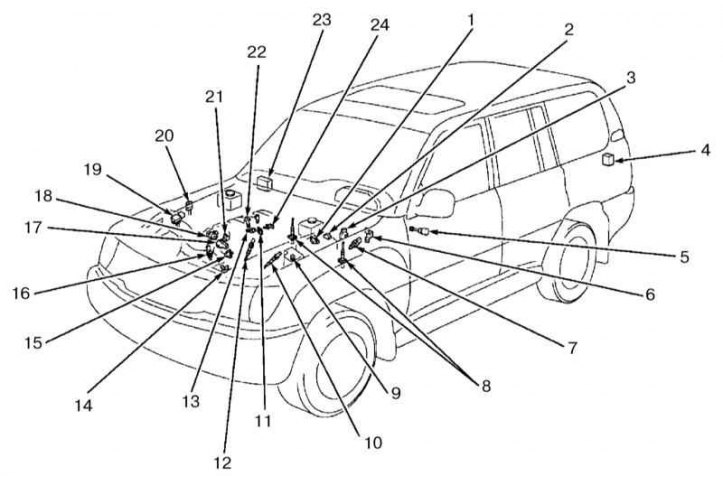
Схема расположения компонентов систем управления двигателем и снижения токсичности отработавших газов на моделях с двигателем V8
(Оригинальная версия опубликована на сайте Toyotaman.ru)
1 - VSV датчика давления паров; 2 - Датчик давления паров; 3 - Датчик-выключатель разрешения запуска (АТ); 4 - ECU топливного насоса; 5 - VSS; 6 - DLC №3; 7 - Датчик-выключатель стоп-сигналов; 8 - Подогреваемый лямбда-зонд (ряд 1 датчик 2 и блок 2 датчик 2); 9 - Главное реле EFI; 10 - Подогреваемый лямбда-зонд (ряд 1 датчик 1); 11 - Датчик детонации №1; 12 - Подогреваемый лямбда-зонд (ряд 2 датчик 1); 13 - Датчик детонации №2; 14 - Датчик CKP; 15 - Датчик CMP; 16 - Датчик температуры охлаждающей жидкости; 17 - Привод дроссельной заслонки с электромагнитным сцеплением; 18 - Датчик положения педали акселератора; 19 - Датчик MAF; 20 - DLC №1; 21 - TPS; 22 - Катушка зажигания; 23 - ECM; 24 - VSV системы EVAP
Электронные системы впрыска и снижения токсичности отработавших газов в процессе своего функционирования при эксплуатации автомобиля пересекаются с различными другими системами, отвечающими за эффективность отдачи двигателя. Все перечисленные системы включают в свой состав набор информационных датчиков и электронный модуль управления (ЕСМ) (обратитесь к иллюстрации выше).
Подобного рода системы можно по своей структуре сравнить с центральной нервной системой человеческого организма, где роль мозга играет модуль управления (ЕСМ), а в качестве нервных окончаний выступают информационные датчики. Датчики посылают сигналы на ЕСМ, который анализирует поступающую информацию и вырабатывает ответные команды на корректировку соответствующих рабочих параметров.
Рассмотрим специфический пример, позволяющий яснее представить себе принцип функционирования системы: вмонтированный в систему выпуска лямбда-зонд непрерывно отслеживает уровень содержания О2 в потоке отработавших газов двигателя. Если процентное содержание кислорода заметно отклоняется от некоторого введенного в память системы контрольного значения, ЕСМ немедленно получает соответствующую информацию и на основании ее анализа вырабатывает команду на соответствующую корректировку продолжительности открывания инжекторов топлива, осуществляя тем самым регулировку состава воздушно-топливной смеси. Продолжительность описанного процедурного цикла составляет доли секунды, что обеспечивает должную эффективность функционирования системы. В результате, эффективность отдачи двигателя постоянно поддерживается на максимально возможном уровне.
Считывание кодов неисправностей OBD-II
Примечание. Считывание кодов неисправностей OBD-II возможно только с использованием специального оборудования. В тексте данного Раздела приведен далеко не полный список выявляемых системой кодов, – в случае необходимости обращайтесь за консультацией в представительские отделения компании-изготовителя автомобиля.
В системе OBD-II пятизначные коды выявленных неисправностей заносятся в память процессора (ЕСМ).

Считывание записанных в память процессора кодов производится при помощи специального сканера OBD-II, который подключается к 16-контактному диагностическому разъему DLC 3 (обратитесь к сопроводительной иллюстрации). Сканер представляет из себя ноутбук, оснащенный интерфейсом для подключения к системе бортовой самодиагностике, и является чрезвычайно эффективным инструментом, позволяя не только произвести считывание кодов, но также получить информацию о текущих параметрах функционирования информационных датчиков и исполнительных устройств. Сканер имеет достаточно высокую стоимость, ввиду чего выполнение процедуры диагностики разумно будет поручить специалистам автосервиса.
Следует заметить, что система бортовой самодиагностики способна обнаружить далеко не все возможные отказы, – в случае необходимости не стесняйтесь обращаться за консультациями на фирменные станции техобслуживания компании Toyota. В ходе поиска причин снижения эффективности отдачи двигателя, повышения расхода топлива или уровня токсичности отработавших газов (данные нарушения обычно не сопровождаются срабатыванием контрольной лампы «Проверьте двигатель») следует в первую очередь произвести весь комплекс стандартных проверок на предмет выявления причин, перечисленных в Разделе, посвященном диагностике неисправностей систем и узлов автомобиля во введении к настоящему Руководству и лишь после этого переключаться на систему OBD.
Следует помнить, что использование OBD-II требует от оператора базовых знаний в области автомобильной электроники, несоблюдение мер предосторожности при обращении ЕСМ и прочими электронными компонентами может привести к необратимому выходу системы из строя.
В приведенной ниже таблице представлен список диагностических кодов OBD-II наиболее типичных отказов системы. Если выявить и устранить причину отказа самостоятельно не удается, автомобиль следует отогнать на станцию техобслуживания с целью проведения диагностики с применением специального диагностического оборудования.
Очистка памяти OBD-II
Для очистки памяти ЕСМ подключите к системе сканер и в раскладке его меню выберите функцию «CLEARING CODES» («Удаление кодов»). Далее следуйте указаниям, высвечиваемым на приборе, либо сразу же на 30 секунд извлеките из своего гнезда в монтажном блоке предохранитель EFI. Альтернативно очистка памяти системы может быть произведена путем снятия плавкой вставки (главного предохранителя системы бортового электропитания), установленной вблизи положительной клеммы батареи (см. Бортовое электрооборудование) (можно также просто отсоединить от батареи положительный провод).
Внимание! Если установленная на автомобиле стереосистема оборудована охранным кодом, прежде чем отсоединять батарею удостоверьтесь в том, что располагаете правильной комбинацией для ввода аудиосистемы в действие!
Примечание. Отключение батареи также приводит к удалению настроек приемника на любимые радиостанции.
Внимание! Во избежание повреждения ЕСМ его отключение и подключение следует производить только при выключенном зажигании!
