Оглавление: Проверка ↓ Замена ↓
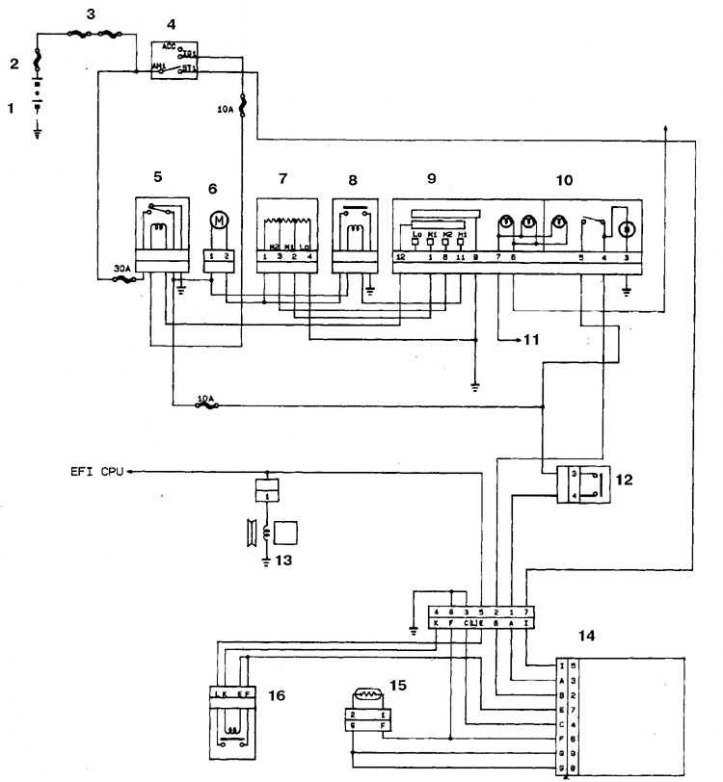
Схема электрооборудования кондиционирования салона
1. Батарея; 2. Главный предохранитель; 3. Дополнительный предохранитель; 4. Выключатель зажигания; 5. Реле отопителя; 6. Электродвигатель; 7. Резистор; 8. Реле электродвигателя; 9. Выключатель вентилятора; 10. Выключатель кондиционера; 11. К реостату; 12. Датчик давления кондиционера; 13. Электромагнитная муфта; 14. Усилитель; 15. Терморезистор; 16. Отсечное температурное реле
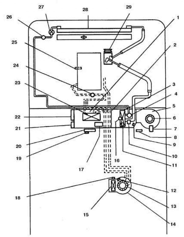
Расположение узлов отопителя и кондиционера
1. Отопитель; 2. Блок охлаждения; 3. Испаритель; 4. Расширительный клапан; 5. Вентилятор; 6, 13. Электродвигатель; 7. Электродвигатель воздушной заслонки; 8. Усилитель; 9, 12. Резистор вентилятора; 10. Реле переключения скорости вентилятора; 11. Отсечное температурное реле; 14. Задний отопитель; 15, 23. Радиатор; 16. Терморезистор; 17. Электродвигатель смесительной заслонки; 18. Реле заднего отопителя; 19. Выключатель заднего отопителя; 20. Панель управления кондиционером; 21. Усилитель электродвигателя смесительной заслонки; 22. Электродвигатель вентиляционного сопла; 24. Кран; 25. Термореле; 26. Реле давления; 27. Влагоотделитель; 28. Конденсатор; 29. Компрессор
Разъем электродвигателя отопителя и разводка разъема
(Первоисточник расположен на сайте: «toyotaman.ru»)
1. Разъем переднего отопителя серии 80
2. Разъем заднего отопителя серии 80
Блок обдува отопителя смонтирован под передней панелью, или в салоне на автомобилях с кондиционированием задней части салона.
Проверка
Внимание! При выполнении работ на отопителе части автомобилей отключите подушку безопасности. Для этого переведите ключ зажигания в положение LOCK, отсоедините батарею от массы и приступайте к работам не ранее чем через 2 мин.
1. В случае отказа вентилятора проверьте предохранитель, состояние контактов и проводов и степень заряда батареи.
2. Проверьте наличие напряжения от батареи на разъеме электродвигателя (включите зажигание и переведите рукоятку вентилятора в положение ON).
3. Если напряжения нет, то имеется обрыв проводов от замка зажигания или от выключателя.
4. Если напряжение присутствует, то присоедините разъем и соедините массовый вывод с массой, подключив перемычку с тыльной стороны разъема.
5. Если вентилятор не включится, то возможно, что неисправен электродвигатель.
6. В этом случае соедините выводы электродвигателя напрямую с батареей и массой проводами, защищенными предохранителями.
7. Если электродвигатель не включится, то его надо заменить.
8. Если двигатель исправен, то проверьте резистор или переключатель, для чего снимите панель управления отопителем (см. подраздел 4.11).
Замена
1. Отсоедините разъем, снимите кронштейн разъема, отверните 3 винта и достаньте блок обдува из кожуха.
2. Крыльчатку можно снять и установить на новый электродвигатель.
3. Установка выполняется в обратном порядке.
