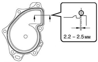
Рис. 2.165. Места нанесения герметика на поверхность насоса охлаждающей жидкости
Перед установкой очистите контактные поверхности насоса охлаждающей жидкости от старого герметика. Уложите новый герметик на кромку насоса (толщина слоя 2–2,5 мм) (рис. 2.165).
Примечание. Удалите излишки герметика. После установки насоса не запускайте двигатель в течении двух часов.
Рис. 2.166. Болты и гайки крепления насоса охлаждающей жидкости
Установите корпус насоса охлаждающей жидкости, затянув четыре болта крепления и две гайки моментом затяжки 9 Н·м (рис. 2.166).
Рис. 2.167. Установка шкива насоса охлаждающей жидкости
С помощью специального инструмента 09960-10010 (09962-01000, 09963-00700) установите шкив насоса охлаждающей жидкости, затянув четыре болта крепления моментом затяжки 26 Н·м (рис. 2.167).
