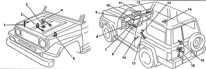
1 - датчик засоренности воздушного фильтра, 2 - датчик наличия воды в топливном фильтре, 3 - вакуумный выключатель в усилителе тормозов, 4 - выключатель по низкому уровню тормозной жидкости, 5 - выключатели по давлению наддува, 6 - датчик звуковой сигнализации о превышении скорости, 7 - аварийный зуммер топливного фильтра, 8 - блок реле, 9 - комбинация приборов, 10 - реостат подсветки, 11 - дополнительная комбинация приборов, 12 - реле системы предупреждения о непристегнутых ремнях безопасности, 13 - датчик включения стояночного тормоза, 14 - концевой выключатель передней двери, 15 - концевой выключатель двери задка, 16 - датчик уровня топлива, 17 - выключатель замка ремня безопасности.
Разъемы (до 1993)

| № | Разъем со стороны проводов |
| А1 | Блок управления системы снижения токсичности |
| А2 | "Земля" |
| АЗ | Датчик звуковой сигнализации о превышении скорости |
| А4 | Датчик давления масла |
| А5 | Вакуумный выключатель в усилителе тормозов, выключатель по низкому уровню тормозной жидкости, датчик включения стояночного тормоза (кроме Европы) и реле проверки ламп (модификации) |
| А6 | Датчик максимальных оборотов |
| А7 | Предохранитель "ENGINE" |
| А8 | Предохранитель "CHARGE" |
| А9 | Клемма 2 разъема выключателя по давлению наддува |
| А10 | Клемма 1 разъема выключателя по давлению наддува |
| А11 | Реостат подсветки или "земля" |
| А12 | Предохранитель "TAIL" |
| В1 | Переключатель света фар |
| В2 | "Земля" |
| ВЗ | Выключатель указателя левого поворота |
| В4 | Выключатель указателя правого поворота |
| В5 | Датчик уровня топлива |
| В6 | "Земля" |
| В7 | Датчик включения полного привода (4WD) |
| В8 | Датчик температуры охлаждающей жидкости |
| С1 | - |
| C2 | Датчик включения блокировки заднего дифференциала |
| D1 | Предохранитель "DOME" |
| D2 | Концевой выключатель (индикация незакрытой двери) |
| Е1 | Выключатель задних противотуманных фонарей |
| Е2 | Датчик включения стояночного тормоза (Европа) |
| ЕЗ | Предохранитель "ENGINE" |
| Е4 | Блок управления блокировкой муфт свободного хода |
Разъемы (с 1993)

| № | Разъем со стороны проводов |
| А1 | Вакуумный выключатель в усилителе тормозов, выключатель по низкому уровню тормозной жидкости, датчик включения стояночного тормоза (кроме Европы) |
| А2 | Датчик включения стояночного тормоза (для Европы) |
| АЗ | Датчик включения полного привода (4WD) |
| А4 | Блок управления блокировкой муфт свободного хода |
| А5 | Выключатель задних противотуманных фонарей |
| А6 | Предохранитель "CHARGE" |
| А7 | Клемма 2 разъема выключателя по давлению наддува |
| А10 | Предохранитель "TAIL" |
| В1 | Реостат подсветки или "земля" |
| В2 | Датчик скорости |
| В4 | Датчик звуковой сигнализации о превышении скорости |
| В5 | "Земля" |
| В7 | - |
| В8 | Датчик включения блокировки заднего дифференциала |
| В9 | Предохранитель "ENGINE" |
| В10 | Переключатель света фар |
| В11 | Выключатель указателя левого поворота |
| В12 | Датчик максимальных оборотов |
| В13 | "Земля" |
| С2 | Выключатель указателя левого поворота |
| СЗ | Предохранитель "DOME" |
| С4 | Концевой выключатель (индикация незакрытой двери) |
| С5 | Датчик давления масла |
| С6 | Датчик уровня топлива |
| С11 | Датчик температуры охлаждающей жидкости |
| С12 | Блок управления системы индикации уровня моторного масла |
| С13 | Датчик уровня топлива |
Разъемы дополнительной комбинации приборов
Измеритель крутизны подъема и крена
Оригинал можно изучить на сайте (www.ToyotaMan.ru)
| № | Разъем со стороны проводов |
| 1 | "Земля" |
| 3 | Предохранитель "TAIL" |
Измеритель крутизны подъема и термометр
| № | Разъем со стороны проводов |
| А1 | "Земля" |
| АЗ | Предохранитель "TAIL" |
| В1 | Датчик №2 температуры внутри салона |
| В2 | Датчик №1 температуры внутри салона |
| В3 | Датчик №1 температуры внутри салона |
| В4 | Датчик №2 температуры внутри салона |
| В5 | Датчик температуры наружного воздуха |
| В6 | Датчик температуры наружного воздуха |
| В7 | Предохранитель "ENGINE" |
| В8 | "Земля" |
