Схема вакуумных линий (EJ-DE)
1 - аккумулятор паров топлива,
2 - воздушный фильтр,
3 - датчик абсолютного давления на впуске,
4 - крышка головки блока цилиндров.
1. (EJ-DE) Проверьте вентиляцию клапанов аккумулятора паров топлива.

Расположение элементов системы электронного управления и системы впрыска топлива (EJ-VE).
1 - шланг системы вентиляции картера,
2 - передняя приемная труба системы выпуска,
3 - электропневмоклапан,
4 - аккумулятор паров топлива,
5 - датчик абсолютного давления воздуха на впуске,
6 - кислородный датчик,
7 - выпускной коллектор (с каталитическим нейтрализатором),
8 - датчик положения коленчатого вала,
9 - звездочка системы DVVT,
10 - элементы электронного управления и системы впрыска.
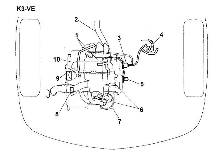
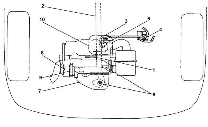
Расположение элементов системы электронного управления и системы впрыска топлива (серия КЗ).
1 - шланг системы вентиляции картера,
2 - передняя приемная труба системы выпуска,
3 - электропневмоклапан,
4 - аккумулятор паров топлива,
5 - датчик абсолютного давления воздуха на впуске,
6 - кислородный датчик,
7 - выпускной коллектор (с каталитическим нейтрализатором),
8 - датчик положения коленчатого вала,
9 - звездочка системы DVVT,
10 - элементы электронного управления и системы впрыска.
Система улавливания парез топлива (EJ-DE).
1 - корпус дроссельной заслонки,
2 - аккумулятор паров топлива,
3 - топливный бак.
2. Проверьте аккумулятор паров топлива.
Система улавливания паров топлива (EJ-VE, серия КЗ).
1 - топливный бак,
2 - аккумулятор паров топлива,
3 - электропневмоклапан,
4 - ЭБУ,
5 - корпус дроссельной заслонки.
а) Заткните порт (С) пальцем и подайте давление на порт (В).
Убедитесь, что есть циркуляция между портами (В) и (А).
б) Заткните порт (С) пальцем и подайте разряжение на порт (В).
Убедитесь, что есть циркуляция между портами (В) и (А).

3. Проверьте электропневмоклапан.
а) Убедитесь в отсутствии циркуляции между портами.
б) Подайте напряжение аккумуляторной батареи на выводы электропневмоклапана.
Убедитесь в наличии циркуляции между портами.
в) Проверьте сопротивление между выводами электропневмоклапана.
- Номинальное сопротивление (при 20°C) — 32 Ом
Серия КЗ.
Серия EJ.
