Оглавление: Серия EJ ↓ Серия КЗ ↓
Серия EJ
Снятие
1. Сбросьте остаточное давление топлива.
2. Отсоедините провод от отрицательной клеммы аккумуляторной батареи.
3. Отверните крышку топливозаправочной горловины.
4. Отверните сливную пробку и слейте топливо из бака.
5. Снимите топливный бак и топливный насос (см. сборочный рисунок "Снятие и установка топливного бака и топливного насоса (EJ-VE)").
Примечание: при разъединении топливопроводов см. раздел "Меры предосторожности при работе с топливной системой".
Установка
1. Установите топливный насос.
а) Установите новую прокладку.
б) Установите насос, совместив его штифт с отверстием кронштейна.

2. Установите топливный бак.
а) Подсоедините разъемы (см. раздел "Меры предосторожности при работе с топливной системой").
б) Подсоедините все топливные шланги и патрубки.
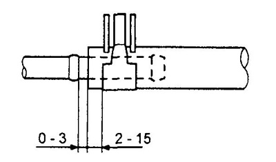
Примечание: подсоедините шланги, как показано на рисунке.

3. Подсоедините шланг вентиляции и заливной шланг №2 топливного бака, затяните хомуты
Примечание: подсоедините шлаг и затяните хомут с проставкой, как показано на рисунках.

Снятие и установка топливного бака и топливного насоса (серия EJ).
1 - заливной шланг,
2 - шланг вентиляции,
3 - трубка подачи топлива,
4 - трубка системы улавливания паров топлива,
5 - топливный бак,
6 - топливный насос,
7 - прокладка топливного насоса,
8 - кронштейн топливного насоса,
9 - клапан отсечки топлива.

4. Залейте бензин.
5. Подсоедините провод к отрицательной клемме аккумуляторной батареи.
6. Запустите двигатель и убедитесь в отсутствии утечек топлива.
Серия КЗ
Снятие
1. Сбросьте остаточное давление топлива.
2. Отсоедините провод от отрицательной клеммы аккумуляторной батареи.
3. Отверните крышку топливозаправочной горловины.
4. Отверните сливную пробку и слейте топливо из бака.
5. Отсоедините главную топливную трубку (см. раздел "Меры предосторожности при работе с топливной системой").
6. Снимите топливный бак и топливный насос (см. сборочный рисунок "Снятие и установка топливного бака и топливного насоса (серия КЗ)").
Установка
1. Установите клапан отсечки топлива с новой прокладкой.
2. Установите патрубок вентиляции с новой прокладкой.
3. Установите топливный насос с кронштейном в сборе.
а) Установите новую прокладку.
б) Установите топливный насос, совместив штифт и выемку корпуса насоса с отверстием и выступом кронштейна соответственно.

4. Установите топливный бак в сборе. Подсоедините шланги и разъемы.
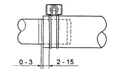
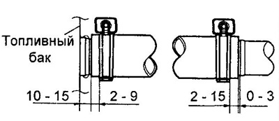
Примечание: подсоедините шланги, как показано на рисунке.

5. Подсоедините заливной шланг №2 топливного бака.

Примечание: подсоедините шлаг и затяните хомут с проставкой, как показано на рисунке.

6. Залейте бензин.
7. Подсоедините провод к отрицательной клемме аккумуляторной батареи.
8. Запустите двигатель и убедитесь в отсутствии утечек топлива.
