Внимание! Для регулировки зазоров понадобится специальное приспособление для отжатия толкателей клапанов (см. ниже).
Отсоедините батарею от массы, продуйте сжатым воздухом и выверните свечи. Снимите крышку головки цилиндров (см. подраздел 3.1.4 или подраздел 3.2.4). Установите поршень 1-го цилиндра в ВМТ такта сжатия.
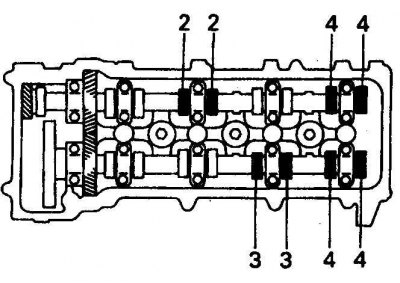
4-цилиндровые двигатели
Проверка зазоров в клапанах на 4-цилиндровых двигателях

На 4-цилиндровых двигателях проверьте зазоры клапанов 1-го цилиндра, выпускных клапанов 3-го цилиндра и впускных клапанов 2-го цилиндра.
Проверка зазора между кулачком распредвала и клапаном с помощью щупа

Щуп должен проходить под небольшим усилием.
1. Измерьте щупом зазоры в клапанах. Запишите те результаты, которые отличаются от нормы.

2. Проверните коленвал на 360° и совместите метки. Проверьте зазоры остальных клапанов.
Двигатели 3,0 л V6

1. Установите поршень 1-го цилиндра в ВМТ такта сжатия и измерьте щупом зазоры выпускного клапана 2-го цилиндра и впускного клапана 6-го цилиндра (IN – впускные, EX – выпускные). Запишите те результаты, которые отличаются от нормы.

2. Проверните коленвал на 120° и проверьте зазоры впускного клапана 1-го цилиндра и выпускного клапана 3-го цилиндра (1 – правая сторона, 2 – к передней части двигателя, IN – впускные, EX – выпускные).

3. Поворачивая еще коленвал на 120°, проверьте зазоры впускного клапана 2-го цилиндра и выпускного клапана 4-го цилиндра (1 – левая сторона, 2 – к передней части двигателя, IN – впускные, EX – выпускные).

4. Поворачивая далее коленвал на 120°, проверьте зазоры впускного клапана 3-го цилиндра и выпускного клапана 5-го цилиндра (1 – правая сторона, 2 – к передней части двигателя, IN – впускные, EX – выпускные).

5. Поверните коленвал на 120°, проверьте зазоры впускного клапана 4-го цилиндра и выпускного клапана 6-го цилиндра (1 – левая сторона, 2 – к передней части двигателя, IN – впускные, EX – выпускные).

6. Поверните коленвал на 120°, проверьте зазоры впускного клапана 5-го цилиндра и выпускного клапана 1-го цилиндра (IN – впускные, EX – выпускные).
Двигатели 3,4 л V6

1. Измерьте щупом зазоры в указанных клапанах (IN – впускные, EX – выпускные, RH – правая сторона, LH – левая сторона). Запишите те результаты, которые отличаются от нормы.
![]() |
![]() |
2. Проверните коленвал на 240° (2/3 оборота) и проверьте зазоры в указанных клапанах (IN – впускные, EX – выпускные, RH – правая сторона, LH – левая сторона). Измерьте зазоры в остальных клапанах. Обозначьте выпускные или впускные клапаны, на которых выполнялись измерения.
Все двигатели
1. После измерения зазоров проверните коленвал так, чтобы кулачок распредвала первого регулируемого клапана был обращен в сторону от регулировочной шайбы.

2. Выставьте паз на толкателе так, чтобы он был обращен к свече. Установите приспособление и отожмите толкатель, сжав рукоятки клещей приспособления. Вставьте держатель приспособления и уберите клещи (можно свести рукоятки и зафиксировать их крючком, не пользуясь держателем).
![]() |
![]() |
3. Сжимая толкатель держателем, достаньте регулировочные шайбы, поддев их отверткой или магнитным пинцетом.
Внимание! На двигателях V6 3,4 л шайбы 1 и 6-го цилиндров достать труднее. Поэтому немного отклоните приспособление в сторону от распредвала впускных клапанов.

4. Микрометром измерьте толщину снятой регулировочной шайбы, затем по формуле определите необходимую толщину дистанционной прокладки (Т – толщина снятой прокладки, А – измеренный зазор, N – требуемая толщина новой прокладки, V – нормативный зазор): N = Т (А-V).
5. Изготовителем в запчасти поставляются регулировочные шайбы 17 размерных групп с толщиной от 2,500 мм до 3,300 мм с шагом 0,050 мм. Подберите шайбу так, чтобы ее толщина была как можно ближе к расчетной.
Внимание! В целях экономии можно установить подходящую по толщине шайбу, снятую с соседнего клапана.
6. Отожмите толкатель приспособлением и установите новую шайбу. Проверьте зазор.
7. Повторите описанную процедуру для остальных клапанов. Установите все снятые детали в обратном порядке.
Толщина поставляемых в запчасти регулировочных шайб
| Номер шайбы | Толщина новой прокладки, мм | Номер шайбы | Толщина новой прокладки, мм |
| 1 | 2,500 | 10 | 2,950 |
| 2 | 2,550 | 11 | 3,000 |
| 3 | 2,600 | 12 | 3,050 |
| 4 | 2,650 | 13 | 3,100 |
| 5 | 2,700 | 14 | 3,150 |
| 6 | 2,750 | 15 | 3,200 |
| 7 | 2,800 | 16 | 3,250 |
| 8 | 2,850 | 17 | 3,300 |
| 9 | 2,900 |




