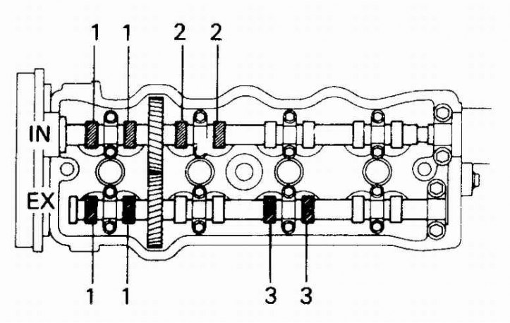
Зазоры выпускных клапанов первого и третьего цилиндров и зазоры впускных клапанов первого и второго цилиндров (четырехцилиндровый двигатель)

Зазоры клапанов (шестицилиндровый двигатель)
1. Правая головка, выпускные клапаны; 2. Правая головка, впускные клапаны; 3. Левая головка, впускные клапаны; 4. Левая головка, выпускные клапаны
Зазоры клапанов 4-цилиндрового двигателя (оставшиеся)
IN – Впускные клапаны
EX – Выпускные клапаны
Зазоры клапанов 6-цилиндрового двигателя (оставшиеся)
IN – Впускные клапаны
EX – Выпускные клапаны
Зазоры клапанов 6-цилиндрового двигателя (оставшиеся) – 2
IN – Впускные клапаны
EX – Выпускные клапаны
1. Отсоедините провод минусовой клеммы аккумулятора.
Текст взят с указанного сайта (TOYOTAMAN)
2. В четырехцилиндровых моделях отсоедините провода свечей зажигания.
3. В шестицилиндровых двигателях слейте охлаждающую жидкость и снимите воздушный фильтр. Отсоедините провода свечей зажигания заднего ряда цилиндров и снимите провода и катушки зажигания свечей переднего ряда.
4. Выкрутите свечи зажигания.
5. Снимите крышку головки.
6. Установите поршень цилиндра N1 в положение ВМТ в момент такта сжатия.

7. Измерьте зазор каждого из клапанов при помощи набора щупов.
8. На моделях с четырехцилиндровым двигателем поверните коленчатый вал на один полный оборот и совместите установочные отметки на шкиве коленчатого вала. Измерьте зазоры оставшихся клапанов (см. рис. Зазоры клапанов 4-цилиндрового двигателя (оставшиеся)).
9. На моделях с шестицилиндровым двигателем поверните коленчатый вал на 2/3 оборота (240 градусов) по часовой стрелке. Измерьте зазоры указанных клапанов (см. рис. Зазоры клапанов 6-цилиндрового двигателя (оставшиеся)). Поверните коленчатый вал еще на 2/3 оборота и измерьте зазоры оставшихся клапанов (см. рис. Зазоры клапанов 6-цилиндрового двигателя (оставшиеся) – 2).
10. Поверните коленчатый вал так, чтобы кулачок над клапаном, требующим регулировки, был поднят вверх.

11. Поверните подъемник клапана прорезью к свече зажигания. Установите инструмент и давите подъемник. Сожмите подъемник специальным инструментом, чтобы снять прокладку.
![]() | ![]() |
12. Снимите прокладку при помощи маленькой отвертки или магнита.

13. Измерьте толщину прокладки при помощи микрометра.
14. Рассчитайте требуемую толщину новой прокладки по следующей формуле:
N = T + (A – V)
Т = толщина старой шайбы
A = клапанный зазор
N = толщина новой шайбы
V = рекомендуемый клапанный зазор.
15. Установите новую прокладку, и повторно проверьте клапанный зазор.


