Оглавление: Снятие и установка ↓ Регулировка ↓
Выключатель сигнала торможения
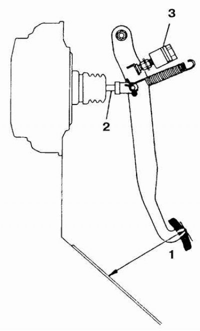
1. Высота педали; 2. Толкатель; 3. Выключатель сигнала торможения
Выключатель сигнала торможения смонтирован на кронштейне рядом с верхней частью педали.
Снятие и установка
1. Отсоедините батарею от массы, отсоедините от выключателя сигнала торможения разъем проводки.
(Исходник опубликован на веб-сайте: ToyotaMan)
2. Отпустите контргайку и выверните выключатель с кронштейна.
3. Установка выполняется в обратном порядке.
Регулировка
1. Проверьте и при необходимости отрегулируйте высоту педали. См. подраздел 2.23.

2. Отпустите контргайку и вращайте выключатель так, чтобы выступание плунжера А соответствовало норме (см. подраздел 10.2.). Если проверить выступание невозможно, то отрегулируйте положение выключателя так, чтобы плунжер слегка касался ограничителя педали тормоза. Затяните контргайку.
3. Присоедините провода к выключателю, соедините батарею с массой. Проверьте работу выключателя. Сигналы торможения должны загораться при нажатии на педаль и гаснуть при отпускании педали. В противном случае повторите регулировку.
4. Проверьте и при необходимости отрегулируйте свободный ход педали. См. подраздел 2.23.
