Оглавление: Проверка диаметров цилиндров ↓ Проверка поршня в сборе с поршневым…↓ Проверка масляного зазора поршня ↓ Проверка масляного зазора поршневого…↓ Проверка зазора между торцом…↓ Зазор между торцом поршневого кольца…↓ Проверка зазора в замке поршневого…↓ Номинальный зазор в замке поршневого…↓ Максимально допустимый зазор в замке ↓ Проверка шатуна в сборе ↓ Проверка шатунных болтов ↓ Проверка коленчатого вала ↓ Проверка болтов крепления крышек…↓ Проверка масляного зазора…↓ Запрессовка направляющих штифтов ↓ Номинальное выступание ↓ Установка направляющих втулок ↓ Номинальное выступание ↓ Установка шпилек ↓ Установка поршня в сборе с поршневым…↓ Установка комплекта поршневых колец ↓ Установка вкладышей подшипников…↓ Установка верхних упорных полуколец…↓ Установка коленчатого вала ↓ Установка вкладышей шатунных…↓ Установка шатунов в сборе ↓ Установка крана для слива…↓
Рис. 2.282. Проверка блока цилиндров на коробление
С помощью прецизионной поверочной линейки и щупа измерьте коробление поверхностей, сопрягающихся с прокладкой головки блока цилиндров (рис. 2.282).
Максимально допустимая величина коробления: 0,05 мм.
Если коробление превышает максимально допустимую величину, замените блок цилиндров.
Проверка диаметров цилиндров
Рис. 2.283. Схема измерения диаметра цилиндра
С помощью нутромера измерьте диаметры цилиндров в плоскостях А и В в продольном и в поперечном направлениях (рис. 2.283).
- Номинальный диаметр: 79,000–79,013 мм.
- Максимально допустимый диаметр: 79,133 мм.
Если усредненный по четырем измерениям диаметр превышает максимально допустимую величину, замените блок цилиндров.
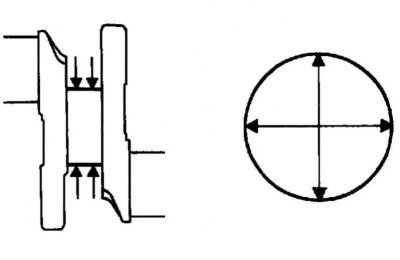
Проверка поршня в сборе с поршневым пальцем
Рис. 2.284. Проверка поршня в сборе с поршневым пальцем
Для двигателя 1ZZ-FE:
Микрометром измерьте диаметр поршня.
Микрометр установите так, чтобы он находился на расстоянии 13,0 мм от края юбки поршня и под прямым углом (90°) к оси отверстий поршневого пальца, как изображено на рисунке 2.284а.
Диаметр поршня: 78,955–78,965 мм.
Если диаметр не соответствует номинальному, замените поршень.
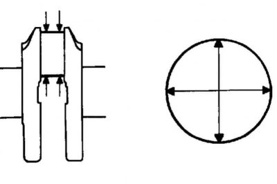
Для двигателя 3ZZ-FE:
Микрометром измерить диаметр поршня.
Микрометр установите так, чтобы он находился на расстоянии 13,5 мм от края юбки поршня и под прямым углом (90°) к оси отверстий поршневого пальца, как изображено на рисунке 2.284b.
Диаметр поршня: 78,960–78,975 мм.
Если диаметр не соответствует номинальному, замените поршень.
Проверка масляного зазора поршня
Вычтете измеренный диаметр поршня из диаметра цилиндра.
- Номинальный масляный зазор: 0,073–0,096 мм.
- Максимально допустимый масляный зазор: 0,10 мм.
Если масляный зазор превышает максимально допустимую величину, следует заменить поршень в сборе.
При необходимости, замените блок цилиндров.
Проверка масляного зазора поршневого пальца
Рис. 2.285. Измерение диаметра отверстия под поршневой палец
Индикатором часового типа для отверстий измерьте диаметр отверстия под поршневой палец (рис. 2.285).
Диаметр отверстия под поршневой палец: 20,006–20,015 мм.

Если диаметр не соответствует номинальному, замените поршень в сборе.
Рис. 2.286. Измерение наружного диаметра поршневого пальца
Микрометром измерьте наружный диаметр поршневого пальца (рис. 2.286).
Наружный диаметр поршневого пальца: 20,004–20,013 мм.

Если диаметр не соответствует номинальному, замените поршень в сборе.
Рис. 2.287. Измерение диаметра отверстия малой головки шатуна
Индикатором часового типа для отверстий измерить диаметр отверстия малой головки шатуна (рис. 2.287).
Диаметр отверстия малой головки шатуна: 20,012–20,021 мм.

Если диаметр не соответствует номинальному, замените шатун в сборе.
Вычтите измеренный наружный диаметр поршневого пальца из диаметра отверстия в поршне под поршневой палец.
- Номинальный масляный зазор: от 0,001 до 0,017 мм.
- Максимально допустимый масляный зазор: 0,017 мм.
Если масляный зазор превышает максимально допустимую величину, замените шатун.
При необходимости, замените поршневой палец.
Вычтите измеренный наружный диаметр поршневого пальца из диаметра отверстия в поршне под поршневой палец.
- Номинальный масляный зазор: 0,005–0,011 мм.
- Максимально допустимый масляный зазор: 0,011 мм.
Если масляный зазор превышает максимально допустимую величину, замените шатун.
Рис. 2.288. Маркировки диаметров поршня и шатуна
При необходимости, замените шатун и поршневой палец (рис. 2.288).
Проверка зазора между торцом поршневого кольца и канавкой поршня
Первоисточником является этот веб-сайт ToyotaMan.ru
Рис. 2.289. Измерение зазора между торцом нового поршневого кольца и стенкой канавки поршня
Щупом измерить зазор между торцом нового поршневого кольца и стенкой канавки поршня (рис. 2.289).
Зазор между торцом поршневого кольца и канавкой поршня

Если зазор не соответствует номинальному, замените поршень в сборе.
Проверка зазора в замке поршневого кольца
Рис. 2.290. Проталкивание поршневого кольца в цилиндр
Поршнем протолкните поршневое кольцо в цилиндр, немного не доходя до нижней точки хода кольца, на расстояние 110 мм от верхней плоскости блока цилиндров (рис. 2.290).
Рис. 2.291. Измерение зазора в замке кольца
Щупом измерьте зазор в замке кольца (рис. 2.291).
Если зазор в замке поршневого кольца превышает максимально допустимую величину, замените поршневое кольцо.
Номинальный зазор в замке поршневого кольца

Максимально допустимый зазор в замке

Если зазор в замке поршневого кольца превышает максимально допустимую величину, даже у нового поршневого кольца, замените блок цилиндров.
Проверка шатуна в сборе
Рис. 2.292. Проверка кривизны шатуна
При помощи устройства для проверки кривизны шатуна и комплекта плоских щупов измерьте кривизну шатуна (рис. 2.292).
- Максимально допустимое искривление: 0,05 мм на 100 мм.
Если искривление шатуна превышает максимально допустимую величину, следует заменить шатун.
Рис. 2.293. Проверка скручивания шатуна
Проверьте скручивание шатуна (рис. 2.293).
- Максимально допустимое скручивание: 0,05 мм на 100 мм.
Если скручивание шатуна превышает максимально допустимую величину, следует заменить шатун.
Проверка шатунных болтов
Рис. 2.294. Измерение шатунного болта
Штангенциркулем измерьте диаметр удлиняемой части болтов (рис. 2.294).
- Номинальный диаметр: 6,6–6,7 мм.
- Минимально допустимый диаметр: 6,4 мм.
Если диаметр меньше минимально допустимой величины, болт следует заменить.
Проверка коленчатого вала
Рис. 2.295. Измерение радиального биения коленчатого вала
Установите коленчатый вал на призмы и с помощью индикатора часового типа измерьте радиальное биение, как изображено на рисунке 2.295.
- Максимально допустимое радиальное биение: 0,03 мм.
Если радиальное биение превышает максимально допустимую величину, следует заменить коленчатый вал.
Рис. 2.296. Схема измерения коренных шеек коленчатого вала
Микрометром измерьте диаметр всех коренных шеек в точках, указанных на рисунке 2.296.
- Диаметр: 47,988–48,000 мм.
Если диаметр шейки не соответствует предписанному, проверьте масляный зазор коленчатого вала.
Проверить конусность и овальность всех коренных шеек, как изображено на рисунке 2.296.
- Максимально допустимая конусность и овальность: 0,02 мм.
Если конусность и овальность превышает максимально допустимую величину, следует заменить коленчатый вал.
Рис. 2.297. Схема измерения шатунных шеек коленчатого вала
Микрометром измерьте диаметр всех шатунных шеек в точках, указанных на рисунке 2.297.
- Диаметр: 43,992–44,000 мм.
Если диаметр шейки не соответствует предписанному, проверьте масляный зазор шатуна.
Проверить конусность и овальность всех шатунных шеек, как изображено на рисунке 2.298.
Максимально допустимая конусность и овальность: 0,02 мм.
Если конусность и овальность превышает максимально допустимую величину, следует заменить коленчатый вал.
Проверка болтов крепления крышек коренных подшипников коленчатого вала
Рис. 2.298. Измерение диаметра удлиняемой части болта
Штангенциркулем измерьте диаметр удлиняемой части болтов (рис. 2.298).
- Номинальный диаметр: 7,3–7,5 мм.
- Минимально допустимый диаметр: 7,3 мм.
Если диаметр меньше минимально допустимого, следует заменить болт крепления крышки коренного подшипника.
Проверка масляного зазора коленчатого вала
Очистите все коренные шейки и вкладыши коренных подшипников.
Примечание. Не поворачивайте коленчатый вал.
Установите коленчатый вал в блок цилиндров.
Уложите вдоль каждой коренной шейки сминаемый пластичный калибр.
Рис. 2.299. Последовательность затягивания болтов крепления блока коренных подшипников
С помощью SST в несколько приемов затяните болты до предписанного момента, действуя в указанной на рисунке 2.299 последовательности.
- Момент затяжки: 44 Н·м.
Пометьте переднюю сторону каждого из болтов крышек коренных подшипников краской.
Рис. 2.300. Угол доворота болтов крепления коренных подшипников
Доверните болты крепления крышек на 90°, как указано на рисунке 2.300.
Убедитесь, что метки развернуты на 90° относительно исходного положения.
Затяните оставшиеся 10 болтов блока крышек коренных подшипников.
Момент затяжки: 19 Н·м.
Выверните 10 болтов.
Рис. 2.301. Последовательность отворачивания болтов крепления блока коренных подшипников
В несколько приемов равномерно ослабьте и выверните 10 болтов крепления блока крышек подшипников в указанной на рисунке 2.301 последовательности.
Измерьте сминаемые пластичные калибры в самом широком месте.
- Номинальный масляный зазор: 0,015–0,032 мм.
- Максимально допустимый масляный зазор: 0,05 мм.
Примечание. Полностью удалите остатки сминаемых пластиковых калибров.
Если масляный зазор превышает максимально допустимую величину, замените вкладыши коренных подшипников.
При необходимости, замените коленчатый вал.
Рис. 2.302. Схема подбора вкладышей
Примечание. Новый вкладыш подшипника должен относиться к той же размерной группе, что и старый вкладыш. Номер размерной группы указан на вкладыше. Если номер на вкладыше определить невозможно, размерная группа вкладыша подбирается по приведенной ниже таблице после сложения номеров, выбитых на блоке цилиндров и на коленчатом вале. Поставляются вкладыши подшипников 4 стандартных размерных классов, помеченные соответственно цифрами «1», «2», «3» и «4» (рис. 2.302).

Пример: блок цилиндров «3» (A)+ коленчатый вал «4» (B) = сумма 7 (использовать вкладыш подшипника «3»).

Запрессовка направляющих штифтов
Рис. 2.303. Схема запрессовки направляющих штифтов
Пластмассовым молотком запрессуйте в блок цилиндров 9 направляющих штифтов (рис. 2.303).
Номинальное выступание

Установка направляющих втулок
Рис. 2.304. Схема запрессовки направляющих швтулок
Пластмассовым молотком запрессуйте 5 новых направляющих втулок в блок цилиндров (рис. 2.304).
Номинальное выступание

Установка шпилек
Рис. 2.305. Схема установки шпилек
С помощью торцовых ключей TORX Е5 и Е7 заверните 9 шпилек в блок цилиндров (рис. 2.305).
Момент затяжки:
- 5,0 Н·м для А;
- 11 Н·м для В;
- 5,0 Н·м для C;
- 5,0 Н·м для D;
- 5,0 Н·м для E.
Установка поршня в сборе с поршневым пальцем
Рис. 2.306. Схема установки нового стопорного кольца
С помощью небольшой отвертки установите новое стопорное кольцо в одно из отверстий поршня к поршневому пальцу (рис. 2.306).
Примечание. Проследите, чтобы разъем кольца совпал с вырезом в поршне.
Постепенно нагреть поршень до температуры 80–90°C.
Рис. 2.307. Метки совмещения поршня и шатуна
Совместите передние метки поршня и шатуна и рукой вставьте поршневой палец в отверстия в поршне и в верхней головке шатуна (рис. 2.307).
С помощью небольшой отвертки установить новое стопорное кольцо в одно из отверстий поршня к поршневому пальцу (рис. 2.306).
Установка комплекта поршневых колец
Руками установите расширитель и 2 боковины составного маслосъемного кольца.
Примечание. При повторном использовании поршневых колец, их следует устанавливать на те же поршни, с которых они были сняты, и в том же положении.
Рис. 2.308. Установка компрессионных колец
С помощью съемника поршневых колец установите 2 компрессионных кольца, при этом маркировка должна быть обращена в сторону днища поршня (рис. 2.308).
Маркировка (только для компрессионного кольца № 2): 2R.
Рис. 2.309. Схема расположения замков поршневых колец
Разверните поршневые кольца так, чтобы их замки были расположены в соответствии с рисунком 2.309.
Установка вкладышей подшипников коленчатого вала
Установите в блок цилиндров верхний вкладыш подшипника с масляной канавкой.
Рис. 2.310. Установка вкладышей подшипников коленчатого вала
Установить в блок крышек коренных подшипников нижние вкладыши подшипников (рис. 2.310).
Примечание. Не следует смазывать моторным маслом вкладыши подшипников и соприкасающуюся с ними поверхность.
Установка верхних упорных полуколец коленчатого вала
Рис. 2.311. Установка верхних упорных полуколец
Установите 2 верхних упорных полукольца на гнездо коренной шейки №3 в блоке цилиндров масляными канавками наружу (рис. 2.311).
Установка коленчатого вала
Смажьте моторным маслом верхние вкладыши подшипников и установить коленчатый вал в блок цилиндров.
Нанесите тонкий слой моторного масла на резьбу болтов, посадочные места болтов и вкладыши в крышке коренных подшипников.
Установите коленчатый вал в блок цилиндров.
Рис. 2.312. Схема укладки герметика
Нанесите герметик в виде сплошного валика (диаметр 2,5–3,5 мм), как изображено на рисунке 2.312.
Примечание. Очистите сопрягающуюся поверхность от масла.
Примечание. Блок крышек коренных подшипников установите в течение 3 мин после нанесения герметика.
Примечание. Масло в двигатель заливайте не ранее, чем через 2 ч после установки блока крышек.
Рис. 2.313. Последовательность затягивания болтов крепления блока крышек коренных подшипников
В несколько приемов затянуть болты до предписанного момента, действуя в указанной на рисунке 2.313 последовательности.
- Момент затяжки: 44 Н·м.
Пометьте переднюю сторону каждого из болтов крышки коренных подшипников краской.
Рис. 2.263. Маркировки и метки на крышках шатунов и на вкладышах подшипников шатунов
Доверните болты крепления крышек на 90°, как указано на рисунке 2.263.
Убедитесь, что метки развернуты на 90° относительно исходного положения.
Затяните оставшиеся 10 болтов крепления блока крышек коренных подшипников.
- Момент затяжки: 19 Н·м.
Установка вкладышей шатунных подшипников
Совместите выступ на вкладыше с проточкой на крышке шатуна.
Установите вкладыш шатунного подшипника в крышку шатуна.
Примечание. Не следует смазывать моторным маслом вкладыши подшипников и соприкасающуюся с ними поверхность.
Совместите выступ на вкладыше с проточкой на шатуне.
Установите вкладыш подшипника в шатун.
Установка шатунов в сборе
Разверните поршневые кольца так, чтобы их замки были расположены в соответствии с рисунком 2.309.
Смажьте моторным маслом стенки цилиндров, поршни и поверхности вкладышей шатунных подшипников.
Рис. 2.314. Установка поршня с шатуном в сборе
При помощи оправки для поршневых колец вставьте поршни с шатунами в цилиндры так, чтобы метка на поршне была направлена к передней части двигателя (рис. 2.314).
Совместите установочные штифты на крышке шатуна с отверстиями в шатуне и установите крышку.
Примечание. Крышки шатунов устанавливайте на соответствующие им шатуны.
Убедитесь, что выступ на крышке подшипника шатуна соориентирован в правильном направлении.
Нанесите тонкий слой моторного масла на резьбу и под головки болтов крепления крышек шатунов.
С помощью SST 09205-16010, в несколько приемов, затяните болты до предписанного момента.
- Момент затяжки: 20 Н·м.
Пометьте переднюю сторону каждого из болтов крышек шатунов краской.
Доверните болты крепления крышки на угол 90°.
Убедитесь, что коленчатый вал вращается плавно.
Установка крана для слива охлаждающей жидкости в сборе
Рис. 2.315. Схема установки крана для слива охлаждающей жидкости в сборе
Нанесите фиксатор резьбы на 2 или 3 нитки резьбы крана для слива охлаждающей жидкости, затем в течение 3 мин вкрутить кран, как изображено на рисунке (рис. 2.315).
- Момент затяжки: 25 Н·м.
Рис. 2.316. Положение сливного щтуцера
Затяните предписанным моментом, повернув кран по часовой стрелке, чтобы сливной штуцер был направлен вниз (рис. 2.316).
Примечание. Охлаждающую жидкость заливайте не ранее, чем через час после установки крана.
Примечание. При повороте крана запрещается поворачивать его более, чем на 360°, а также запрещается ослаблять после правильной установки.
