Оглавление: Проверка ↓ Замена ↓
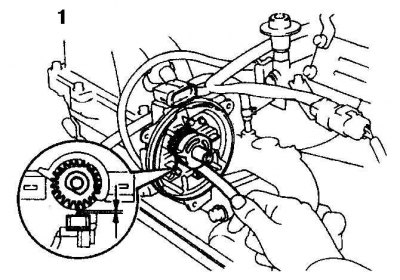
Проверка зазора между ротором и выступом индукционного датчика (1980-87 гг.)
1. Индукционный датчик
2. Зазор между ротором и выступом индукционного датчика
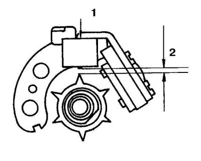
Проверка зазора в индукционном датчике на автомобилях 1988-92 гг.
1. Катушка NE
2. Катушка G
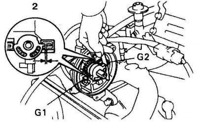
Проверка зазора в индукционном датчике на автомобилях с 1993 г.

1. Катушка NE
2. Катушки G1 и G2
Проверка
Внимание! На автомобилях 1980-87 гг. в качестве формирователя исходного сигнала используется датчик Холла. Проверка датчика выполняется в автосервисе.

1. Отсоедините разъем от распределителя и измерьте сопротивления между выводами индукционного датчика.
2. Сравните результаты измерений со значениями, указанными в подразделе 3.4.1. Если измеренные сопротивления отличаются от нормативных значений, то датчик замените.
Проверка зазора между датчиком и ротором
3. Отсоедините батарею от массы.
4. Снимите распределитель (см. подраздел 3.4.6).
5. Латунным щупом измерьте зазор между ротором и выступом индукционного датчика (см. рис. Проверка зазора между ротором и выступом индукционного датчика (1980-87 гг.), Проверка зазора в индукционном датчике на автомобилях 1988-92 гг. и Проверка зазора в индукционном датчике на автомобилях с 1993 г.). Если зазор отличается от нормативного, то на автомобилях 1980-87 гг. отпустите винты и установите зазор, на автомобилях с 1988 г. замените распределитель, так как зазор регулировке не подлежит (увеличение зазора против нормы как правило обусловлено износом втулки распределителя).
Замена
1. Отсоедините батарею от массы.
2. Снимите распределитель (см. подраздел 3.4.6).

3. Отверните винты крепления индукционного датчика (указаны стрелками).
4. Снимите индукционный датчик.
5. Установка выполняется в обратном порядке. Отрегулируйте зазор в датчике.
