Оглавление: Проверка выключателя запрещения…↓ Проверка датчика частоты вращения…↓ Проверка выключателя режима ручного…↓ Проверка переключателей передач на…↓ Проверка электромагнитных клапанов ↓ Проверка выключателя стоп-сигналов ↓
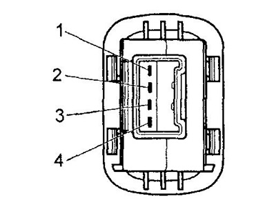
Проверка выключателя запрещения запуска двигателя
Проверьте наличие проводимости между выводами разъема, указанными в таблице.
![]() |
![]() |
Если проводимости между указанными выводами нет, то замените выключатель запрещения запуска.
Проверка датчика частоты вращения входного вала и датчика частоты вращения выходного вала
Проверку датчиков можно провести только с помощью осциллографа. При неисправности датчиков будут выводиться коды неисправностей (37, 42). Проверить сигналы датчиков можно на соответствующих выводах электронного блока управления АКПП.
Расположение элементов электрической системы управления (модели без режима переключения передач на рулевом колесе).
1 - диагностический разъем,
2 - выключатель стоп-сигналов,
3 - электронный блок управления двигателем,
4 - электронный блок управления АКПП,
5 - датчик частоты вращения выходного вала,
6 - электромагнитный клапан частичной блокировки гидротрансформатора (LUCR),
7 - датчик температуры рабочей жидкости (АКПП),
8 - электромагнитный клапан №3,
9 - электромагнитный клапан №1,
10 - электромагнитный клапан №2,
11 - электромагнитный клапан блокировки гидротрансформатора (LUCC),
12 - электромагнитный клапан переключения (SOLR),
13 - выключатель запрещения запуска двигателя,
14 - датчик частоты вращения входного вала.
Проверка выключателя режима ручного переключения передач
1. Снимите рулевое колесо вместе с модулем подушки безопасности.
Внимание:
- Отсоединяйте модуль подушки безопасности не раньше, чем через 60 секунд после отсоединения провода от отрицательной клеммы аккумуляторной батареи.
- При снятии руководствуйтесь соответствующей главой "Система безопасности (SRS)".
2. При нажатой кнопке выключателя убедитесь в наличии проводимости между выводами "1" (Е) - "2" (SPT) разъема выключателя режима ручного переключения передач.

Проверка переключателей передач на рулевом колесе
1. Снимите рулевое колесо вместе с модулем подушки безопасности.
Внимание:
- - Отсоединяйте модуль подушки безопасности не раньше, чем через 60 секунд после отсоединения провода от отрицательной клеммы аккумуляторной батареи.
- - При снятии руководствуйтесь соответствующей главой "Система безопасности (SRS)".
2. При нажатой кнопке выключателя повышения передачи убедитесь в наличии проводимости между выводами "SIFTU" - "Е" разъема выключателя режима повышения передачи.
3. При нажатой кнопке выключателя понижения передачи убедитесь в наличии проводимости между выводами "SIFTD" - "Е" разъема выключателя режима понижения передачи.
Проверка электромагнитных клапанов
1. Отделите разъем электромагнитных клапанов на коробке передач.
2. Измерьте сопротивление между выводом "1" (SOLR), выводом "2" (LUCR) и массой.
- Номинальное сопротивление — 14 -18 Ом
3. Подсоедините положительную клемму аккумуляторной батареи к выводу "1" (SOLR), а отрицательную — к массе, при исправном клапане должен прозвучать щелчок срабатывания. Повторите процедуру для вывода "2" (LUCR).
4. Измерьте сопротивление между выводом "3" (LUCC) разъема электромагнитных клапанов и массой.
- Номинальное сопротивление — 11 - 13 Ом
Расположение элементов электрической системы управления (модели с режимом переключения передач на рулевом колесе).
1 - индикатор включенной передачи,
2 - диагностический разъем,
3 - выключатель стоп-сигналов,
4 - выключатель режима ручного переключения передач,
5 - переключатель передач на рулевом колесе,
6 - электронный блок управления двигателем,
7 - электронный блок управления АКПП,
8 - датчик часто ты вращения выходного вала,
9 - электромагнитный клапан частичной блокировки гидротрансформатора (LUCR),
10 - датчик температуры рабочей жидкости АКПП,
11 - электромагнитный клапан №3,
12 - электромагнитный клапан №1,
13 - электромагнитный клапан №2,
14 - электромагнитный клапан блокировки гидротрансформатора (LUCC),
15 - электромагнитный клапан переключения (SOLR),
16 - выключатель запрещения запуска двигателя,
17 - датчик частоты вращения входного вала.
Расположение электромагнитных клапанов.
1 - электромагнитный клапан переключения (SOLR),
2 - электромагнитный клапан блокировки гидротрансформатора (LUCC),
3 - электромагнитный клапан частичной блокировки гидротрансформатора (LUCR),
4 - датчик температуры рабочей жидкости АКПП,
5 - электромагнитный клапан №3,
6 - электромагнитный клапан №1,
7 - электромагнитный клапан №2,
8 - жгут проводов электромагнитных клапанов.
5. Подсоедините положительную клемму аккумуляторной батареи к выводу "3" (LUCC), а отрицательную — к массе, при исправном клапане должен прозвучать щелчок срабатывания.
6. Измерьте сопротивление между выводами разъема электромагнитных клапанов "5" (ОТМР) и "9" (Е).
Номинальное сопротивление:
- при температуре 0°C — 5-6 Ом
- при температуре 140°C — 70-74 Ом
7. Проверьте электромагнитные клапана №1, №2, №3.
а) Измерьте сопротивление между выводами разъема электромагнитных клапанов "6" (В1+) и "10" (В1-).
б) Измерьте сопротивление между выводами разъема электромагнитных клапанов "8" (С2+) и "12" (С2-).
в) Измерьте сопротивление между выводами разъема электромагнитных клапанов "7" (СЗВ2+) и "11" (СЗВ2-).
- Номинальное сопротивление — 5,0-5,6 Ом
10. Убедитесь в наличии проводимости между выводом разъема каждого электромагнитного клапана и соответствующим выводом разъема электромагнитных клапанов (см. рис. "Проверка жгута электромагнитных клапанов").
11. Проверьте напряжение на выводах разъема блока управления АКПП.
а) Включите зажигание.
б) Измерьте напряжение на каждом выводе разъема блока управления АКПП и двигателем (см. таблицу "Напряжение на выводах разъема блока управления АКПП").
Проверка жгута электромагнитных клапанов.
1 - электромагнитный клапан №2,
2 - электромагнитный клапан №1,
3 - электромагнитный клапан №3,
4 - электромагнитный клапан частичной блокировки гидротрансформатора (LUCR),
5 - электромагнитный клапан блокировки гидротрансформатора (LUCC),
6 - электромагнитный клапан переключения (SOLR).
Таблица. Напряжение на выводах разъема блока управления АКПП.
Проверка выключателя стоп-сигналов
Проверьте проводимость между выводами разъема выключателя стоп -сигналов.
Проводимость между выводами:
- педаль тормоза нажата — проводимость есть
- педаль тормоза отпущена — проводимости нет



