Оглавление: Датчик температуры топлива ↓ Датчик давления наддува ↓ Проверка напряжения питания ↓ Проверка датчика давления наддува ↓ Датчик температуры воздуха на впуске ↓ Датчик температуры охлаждающей…↓ Датчик положения коленчатого вала ↓ Датчик частоты вращения (положения…↓ Корректирующие резисторы ТНВД ↓ Реле системы управления ↓
Датчик температуры топлива
Примечание: На некоторых ранних моделях датчик отсутствует, на его месте устанавливается заглушка.
1. Проверка
а) Выключите "зажигание".
б) Отсоедините разъем датчика температуры топлива.
в) Подставьте под ТНВД емкость для сбора топлива.
г) Снимите датчик температуры топлива.
д) Погрузите чувствительный элемент датчика температуры топлива в воду с известной температурой.
е) Измерьте сопротивление между клеммами датчика температуры топлива в контрольных точках.
Цвет разъема — Темно-серый
Температура — Сопротивление
20°C — ~2500 Ом
40°C — ~1100 Ом
60°C — ~600 Ом
80°C — ~300 Ом
Рис. 16 Проверка датчика температуры топлива
Датчик давления наддува
Соединен резиновой трубкой с впускным коллектором. Давление во впускном коллекторе двигателя с турбонаддувом меняется от разряжения порядка 100 мм рт.ст. на режиме холостого хода до избыточного давления 0,98 бар при полной нагрузке и включенной турбине.
Маркировка:
- SENSOR ASS/
- TURBO PRESSURE
- Производитель — TOYOTA
- Цвет разъема — Черный
Проверка напряжения питания
1. Выключите "зажигание".
2. Отсоедините разъем датчика давления наддува.
3. Включите "зажигание".
4. Измерьте напряжение между клеммами разъема.
Клемма — назначение
1. Е2 — "земля"
2. Р/М — сигнал датчика
3. VC — питание +5 В
Клеммы — напряжение
VC и Е2 — 4,5-5,5 В

Рис. 17 Проверка датчика давления наддува
Проверка датчика давления наддува
1. Выключите "зажигание".
2. Снимите вакуумную трубку с датчика давления наддува.
3. Обеспечьте доступ к клеммам разъема датчика не отсоединяя разъема.
4 Включите "зажигание".
5 Измерьте напряжение между клеммами "PIM" и "Е2" разъема.
6 Сопоставьте с напряжением по техническим условиям.
7. Вакуумным насосом создайте разрежение на датчике.
8 Измерьте напряжение между клеммами разъема.
Публикация заимствована с интернет-сайта ToyotaMAN
Разрежение — Падение напряжения
100 мм рт. ст — 0.3 - 0.5 В
200 мм рт. ст — 0,6 - 0,8 В
300 мм рт. ст — 0.95 - 1,15 В
9. Сравните падение напряжения с данными технических условий.
10. Подайте на датчик избыточное давление.
11. Измерьте напряжение между клеммами разъема.
Давление — повышение напряжения
0.19 бар — 0.4-0.7 В
0.39 бар — 0.9- 1.2 В
0.59 бар — 1,4- 1,7 В
0.79 бар — 2.0-2,3 В
0.98 бар — 2.5-2.8 В
12. Сравните повышение напряжения с данными технических условий.
Напряжение между клеммами "PIM" и "Е2" разъема на работающем двигателе
Клеммы PIM и Е2
Режим работы — Напряжение
Прогрев — 1,4 В
Холостой ход — 0.8 В
при 3000 об/мин — 1.5 В
Рис. 18 Проверка датчика давления наддува
Датчик температуры воздуха на впуске
Датчик температуры воздуха измеряет температуру воздуха после воздухоочистителя для последующего вычисления объема воздуха, поступившего в цилиндры двигателя, и подачи команды на впрыск соответствующего копичества топлива. Работает всегда в паре с датчиком абсолютного давления воздуха во впускном коллекторе Установлен во впускном воздуховоде с тыльной стороны у воздухоочистителя
Разъем двух контактный без маркировки. цвет черный
Назначение — Цвет провода
коричневый — "земля"
желтый — сигнал
Проверка сопротивления
1. Выключите "зажигание".
2. Отсоедините разъем датчика.
3. Измерьте температуру окружающего воздуха.
4. Измерьте сопротивление и между клеммами датчика.
Температура — Сопротивление
20°C — ~2500 Ом
40°C — ~1100 Ом
60°C — ~600 Ом
80°C — ~300 Ом
Рис. 19 Проверка сопротивления датчика температуры воздуха на впуске.
Датчик температуры охлаждающей жидкости двигателя
Датчик расположен на термостате.
Проверка
1. Выключите "зажигание".
2. Отсоедините разъем датчика.
3. Сбросьте остаточное давление в системе охлаждения.
4. Демонтируйте датчик с двигателя.
5. Погрузите чувствительный элемент датчика в воду с известной температурой.
6. Измерьте сопротивление между клеммами датчика в контрольных точках.
Цвет разъема — Серый
Температура — Сопротивление
20°C — ~2500 Ом
40°C — ~ 1000 Ом
60°C — ~ 600 Ом
80°C — ~300 Ом
На прогретом дизеле напряжениена датчике — ~ 7 В
Риc. 20 Проверка датчика температуры охлаждающей жидкости.
Датчик положения коленчатого вала
Он же служит и датчиком частоты вращения коленчатого вала. Распложен на блоке рядом с маховиком в нижней части картера.

Цвет разъема — Черный
Сопротивление (холодный двигатель) — 19 - 32 Ом
(прогретый двигатель) — 24 - 37 Ом
Проверка сопротивления
1. Выключите "зажигание".
2. Отсоедините разъем датчика.
3. Измерьте сопротивление между клеммами датчика
Рис. 21 Проверка сопротивления датчика положения коленчатого вала
Датчик частоты вращения (положения вала ТНВД)
Он установлен в ТНВД На части схем он обозначен также, как датчик частоты вращения двигателя. Это возможно потому, что по существу он является также и датчиком частоты вращения ТНВД, которая однозначна частоте вращения двигателя.
Датчик установлен в передней части ТНВД сверху вертикально
Разъем — белый
Температура — Сопротивление
20°C — 205-255 Ом
Проверка сопротивления
1. Выключите "зажигание".
2. Отсоедините разъем датчика.
3. Измерьте сопротивление между клеммами датчика.
Рис. 22 Датчик частоты вращения (датчик положения вала ТНВД)
Корректирующие резисторы ТНВД
Проверка сопротивления
1. Выключите "зажигание".
2. Отсоедините по очереди разъем каждого резистора.
3. Измерьте сопротивление между клеммами резистора.
Температура — Сопротивление
20°C — 100 - 2500 Ом
Рис. 23 Проверка резисторов ТНВД
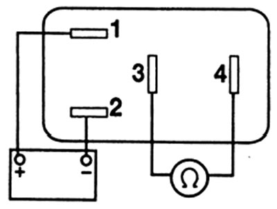
Реле системы управления
Проверка работы
Примечание: соблюдайте полярность подсоединения питания, в противном случае реле может быть повреждено.
1. Выключите "зажигание".
2. Снимите реле.
3. Измерьте сопротивление между клеммами 3 и 4 реле.
4. Подведите питание от аккумулятора к указанным клеммам (1 и 2) реле.
5. Измерьте сопротивление между клеммами 3 и 4 реле.
Клеммы переключаемых контактов
З и 4
Питание — Сопротивление
нет — бесконечность
есть — ноль
("Плюс" аккумулятора к клемме 1)
("Минус" аккумулятора к клемме 2)
Рис. 24 Проверка реле управления
