a) Разкачете конектора на сензора. Свържете "+" на волтметъра към клемата на конектора, "-" на волтметъра към земята.
б) включете запалването: стрелката на волтметъра трябва да се колебае около знака 4,5 V, ако не, извадете и проверете индикатора.

2. Проверка на съпротивлението на показалеца. Измерете съпротивлението между клеми TU и E.
- Съпротивление: около 25 Ohm
Ако съпротивлението не е равно на определеното, сменете индикатора.

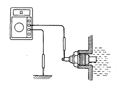
3. Проверка на съпротивлението на сензора.
a) Проверете промяната в съпротивлението на сензора, когато поплавъкът му се движи.
b) Измерете съпротивлението между клеми 1 и 2 на сензора.
![]() | ![]() |
Ако съпротивлението не е равно на определеното, сменете индикатора.


