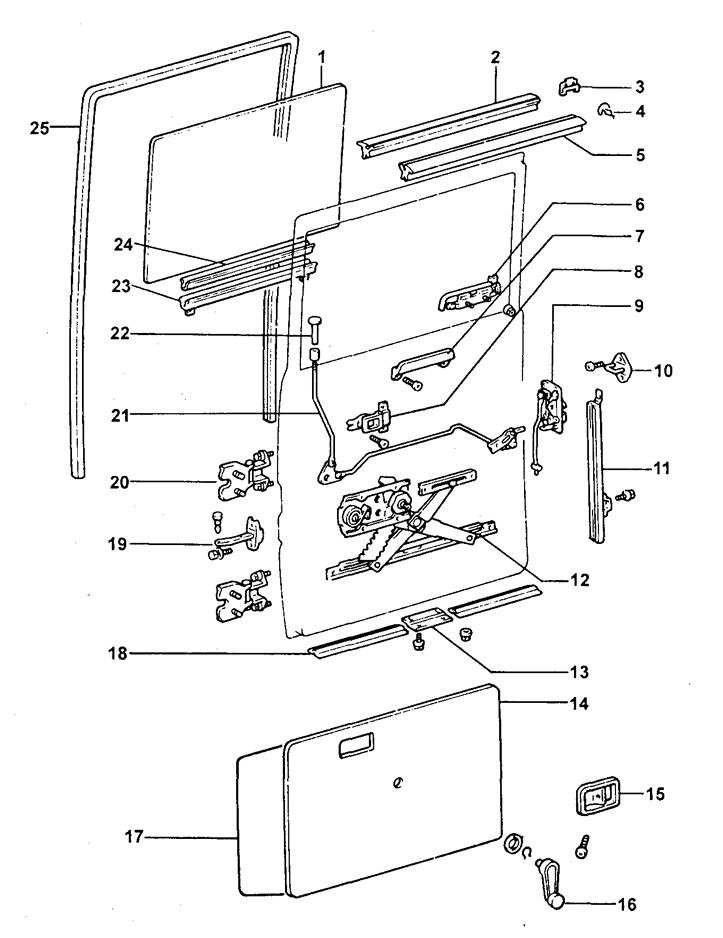
Компоненти на задната врата:
1 - стъкло на вратата,
2 - Външно уплътнение,
3, 4 - скоба,
5 - Вътрешно уплътнение,
6 - Външна дръжка на вратата,
7 - Дръжка за затваряне на вътрешна врата,
8 - Вътрешна дръжка за отваряне на вратата,
9 - Ключалка на вратата,
10 - Фиксатор на ключалката на вратата,
11 - Заден долен водач,
12 - Механизъм за повдигане на прозореца,
13 -, 14 - вътрешна тапицерия на вратата,
15 - Декоративен капак за вътрешната дръжка за отваряне на вратата,
16 - Дръжка за повдигане на прозореца,
17 - Капак на сервизния отвор,
18 -, 19 - Ограничител на хода на вратата,
20 - контур,
21 - Ключалка на вратата,
22 - Бутон за заключване на вратата,
23 - Щипка за стъкло,
24 - Гумена вложка,
25 - Стъклена рамка на вратата.
Официалният източник е на портала: www.toyotaman.ru
