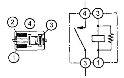
а) Користећи омметар, проверите да ли постоји континуитет између прикључака "1" и "2".
б) Користећи омметар, уверите се да нема континуитета између прикључака "3" и "4".
Ако проводљивост није као што је горе наведено, замените релеј.

2. Провера рада релеја.
а) Повежите напон батерије на прикључке "1" и "2".
б) Помоћу омметра проверите да ли постоји континуитет између прикључака "3" и "4".
Ако проводљивост не одговара горе наведеном, замените релеј.
