Оглавление: Тип 1 ↓ Тип 2 ↓ Проверка электродвигателя…↓ Электродвигатель конденсатора ↓ Проверка сервоприводов ↓
Тип 1
1. Проверка переключателя вентилятора отопителя.

а) Измерьте напряжение на выводах "10" и "12" разъема при различных положениях переключателя.
Нормальное напряжение:
- OFF — 1,8-2,2 В
- LO — 2,8-3,2 В
- MID — 3,8-4,2 В
- HI — 4,8-5,2 В
2. Проверка выключателя кондиционера и переключателя "ECON".
3. Проверка переключателя направления обдува.
4. Проверка переключателя "FRESH/RECIRC".
5. Проверка регулятора температуры.
а) Измерьте сопротивление между выводами "11" и "12" при перемещении регулятора из положения максимального охлаждения в положение максимального обогрева.
Нормальное сопротивление:
- макс. охлаждение — 0 Ом
- макс. нагрев — около 3 кОм
б) Проверьте плавность изменения сопротивления.
6. Проверка выключателя обогревателя заднего стекла.
а) Подключите аккумуляторную батарею к выводам "1" (+), и "8" (-).
б) Подключите (+) батареи через контрольную лампу 12 В 3,4 Вт 12 В 3,4 Вт, от (+) к выводу "2". При нажатии выключателя лампочка должна загореться на 12-18 минут.
7. Проверка индикаторов и подсветки. Проверка индикаторов.
а) Подключите аккумуляторную батарею к выводам "1" (+), "8" и "5" (-).
б) При нажатии каждого выключателя должна загораться его лампа.
Примечание: лампа обогревателя заднего стекла горит 12-18 мин.
Проверка подсветки.
То же подключение, при подключению к выводу "9" (+) батареи загорается лампа подсветки.
Тип 2
1. Проверка подсветки.
Подключите аккумуляторную батарею к выводам "6" (+), "8" (-). Подсветка должна гореть.

Проверка электродвигателя вентилятора отопителя
1. Подключите аккумуляторную батарею к выводам "1" (+) и "2" (-) разъема, проверьте плавность вращения ротора.
2. Измерьте силу тока двигателя.
- Номинальный ток — менее 3 А
Электродвигатель конденсатора
1. Подключите аккумуляторную батарею к выводам "2" (+) и "1" (-) разъема, проверьте плавность вращения ротора.
2. Измерьте силу тока двигателя.
- Номинальный ток — менее 1,5 А
Проверка сервоприводов
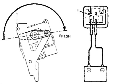
1. Проверка сервопривода заслонки забора воздуха.
а) Подключите "+" аккумуляторной батареи к выводу "1", к выводу "2", проверьте, что заслонка передвигается в положение "FRESH" (вентиляция).

б) Подключите "+" аккумуляторной батареи к выводу "1", "-" к выводу "3", проверьте, что заслонка передвигается в положение "RECIRC" (рециркуляция).

2. Проверка сервопривода заслонки смешивания потоков.
а) Подключите аккумуляторную батарею к выводам "1" (+) и "2" (-) разъема. Проверьте, что рычаг плавно перемещается в из положения "COOL" в "НОТ".

б) Поменяйте полярность напряжения, проверьте, что рычаг перемещается в положение "COOL".
в) Измерьте сопротивление между выводами "5" и "4".
- Сопротивление — 4,8-7,2 кОм
г) Проверьте, что при перемещении заслонки из положения "COOL" в "НОТ" сопротивление между выводами "4" и "3" изменяется, как показано на рисунке.

3. Проверка сервопривода заслонки направления воздушного потока
а) Подключите аккумуляторную батарею к выводам "2" (+) и "1" (-) разъема
б) Подключая каждый вывод разъема к отрицательной клемме батареи, проверьте, что рычаг перемещается в позицию, указанную в таблице.
![]() | ![]() |


