Проверка
1. (Модели до 1996 г., модели с 1996 г. (ЗС-Т)).
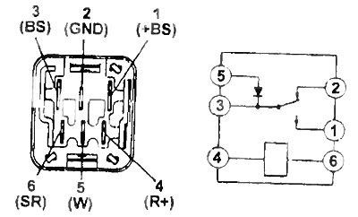
Проверьте проводимость обмоток реле.
а) Проверьте наличие проводимости между выводами "5" и "6" разъема А.
б) Проверьте наличие проводимости между выводами "4" (положительный щуп омметра) и "6" (отрицательный щуп омметра) разъема А и отсутствие проводимости — при обратном подключении щупов омметра.
Примечание: соблюдайте полярность при подключении щупов омметра.
в) Проверьте наличие проводимости между выводами "4" (положительный щуп омметра) и "5" (отрицательный щуп омметра) разъема А и отсутствие проводимости — при обратном подключении щупов омметра.
г) (ЗС-Т)
Проверьте отсутствие проводимости между выводами "2" и "5" разъема А. Д) (ЗС-Т)
Проверьте наличие проводимости между выводами "1" разъема А и "3" разъема В.
е) (ЗС-Т)
Проверьте отсутствие проводимости между выводами "1" и "2" разъема В.
ж) (ЗС-Т)
Проверьте наличие проводимости между выводами "3" и "4" разъема В.
![]() | ![]() |
Если условия не выполняются, то замените реле.
2. (Модели до 1996 г.)
Проверьте работу реле электромагнитного клапана.
а) Подайте напряжение аккумуляторной батареи на вывод "1" разъема А и вывод "3" разъема В.
б) Убедитесь в наличии проводимости между выводами "2" и "5" разъема А, и в отсутствии проводимости между выводами "5" и "6" разъема А.

3. (Модели с 1996 г. (4S-FE, 3S-FE)) Проверьте работу реле электромагнитного клапана.
а) Проверьте отсутствие проводимости между выводами "1" и "3" разъема реле.
б) Убедитесь в наличии проводимости между выводами "2" и "3" разъема реле.
в) Убедитесь в наличии проводимости между выводами "4" и "б" разъема реле.
г) Проверьте наличие проводимости между выводами "5" (положительный щуп омметра) и "3" (отрицательный щуп омметра) разъема реле и отсутствие проводимости - при обратном подключении щупов омметра.
д) Подайте напряжение на выводы "4" и "6" разъема реле и убедитесь в наличии проводимости между выводами "1" и "3", и отсутствии проводимости между выводами "2" и "3".
[Публикация перепечатана с веб-портала: toyotaman.ru]

3. (Модели до 1996 г.)
Проверьте работу реле электрического насоса.
а) Подайте напряжение аккумуляторной батареи на выводы "3" и "4" разъема В.
б) Убедитесь в наличии проводимости между выводами "1" и "2" разъема В.
4. (Модели с 1996 г. (4S-FE, 3S-FE)) Проверьте работу реле электрического насоса.
а) Проверьте отсутствие проводимость между выводами "1" и "2" разъема реле.
б) Проверьте наличие проводимости между выводами "3" и "4" разъема реле.
в) Подайте напряжение аккумуляторной батареи на выводы "З" и "4" и убедитесь в наличии пооводимо-сти между выводами "1" и "2".



