Оглавление: Замена заднего сальника без снятия…↓ Снятие редуктора ↓ Установка редуктора ↓ Проверка редуктора ↓
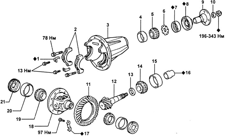
Редуктор в сборе. 1 - прокладка; 2 - трубки тормозной системы; 3 - демпфер рулевого привода; 4 - поперечная рулевая тяга; 5 - редуктор; 6 - передний карданный вал; 7 - прокладка; 8 - шплинт; 9 - прокладка; 10 - ось поворотного кулака; 11 - полуось в сборе.
Редуктор. 1 - стопорные пластины; 2 - крышки подшипников; 3 - хартер редуктора; 4 - наружная обойма переднего подшипника; 5 - передний подшипник; 6 - маслоотражательное кольцо; 7 - сальник; 8 - пыльник; 9 - фланец ведущей шестерни; 10 - шайба; 11 - ведомая шестерня; 12 - ведущая шестерня; 13 - шайба; 14 - задний подшипник; 15 - наружная обойма заднего подшипника; 16 - распорная втулка; 17 - стопорная пластина; 18 - чашка дифференциала; 19 - подшипник чашки дифференциала; 20 - наружная обойма подшипника чашки дифференциала; 21 - регулировочная гайка подшипника чашки дифференциала.

Замена заднего сальника без снятия редуктора с автомобиля
1. Снятие переднего карданного вала.
а) Нанесите метки на фланец переднего карданного вала и Фланец ведущей шестерни главной передачи.
б) Отверните четыре болта и гайки и отсоедините передний карданный вал.

2. Снятие фланца ведущей шестерни главной передачи.
а) С помощью зубила и молотка освободите зачеканенную часть гайки крепления фланца.
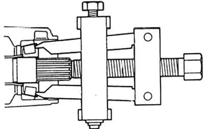
б) Удерживая фланец с помощью специнструмента, удалите гайку и пластинчатую шайбу.

в) С помощью специнструмента снимите соединительный фланец.

3. С помощью специнструмента извлеките сальник, затем извлеките маслоотражательное кольцо.

4. С помощью специнструмента снимите задний подшипник ведущей шестерни.

5. Извлеките распорную втулку подшипника.
6. Установите новую распорную втулку подшипника.
7. Установите задний подшипник.
8. Установка маслоотражательного кольца и нового сальника.
а) Установите маслоотражательное кольцо, как показано на рисунке.
б) С помощью специнструмента установите новый сальник, как показано на рисунке.
Глубина запрессовки сальника — 1,0 мм

в) Нанесите консистентную смазку на рабочую кромку сальника.
9. Установка фланца ведущей шестерни главной передачи.
а) С помощью специнструмента установите фланец на ведущую шестерню.
б) Установите плоскую шайбу на фланец.
в) Нанесите небольшое количество трансмиссионного масла на резьбу новой гайки крепления фланца.
г) Удерживая фланец, затяните гайку.
Момент затяжки — 196 Н·м
10. Проверка предварительного натяга подшипников ведущей шестерни.
а) С помощью динамометрического ключа измерьте предварительный натяг.
Предварительный натяг (начальный):
- новый подшипник — 1,9 - 2,5 Н·м
- старый подшипник — 0,9- 1,3 Н·м

б) Если предварительный натяг больше регламентированного, то замените распорную втулку.
в) Если предварительный натяг меньше регламентированного, то повторно затяните гайку моментом на 13 Н·м больше номинального (196 Н·м) до достижения установленного значения предварительного натяга.
г) Если при затяжке гайки будет превышен предельный момент затяжки, необходимо заменить распорную втулку подшипника и повторить процедуру.
Предельный момент затяжки — 343 Н·м
Внимание: нельзя отворачивать гайку для уменьшения предварительного натяга.
11. Зачеканьте гайку ведущей шестерни.
12. Совместите метки и соедините фланец ведущей шестерни главной передачи с фланцем карданного вала. Закрепите фланцы с помощью болтов, пружинных шайб и гаек. Затяните болты и гайки.
Момент затяжки — 74 Н·м
13. Проверьте уровень масла в картере редуктора. Долейте масло при необходимости.
Снятие редуктора
1. Отверните сливную пробку и слейте масло из картера редуктора.
Публикация заимствована с интернет-сайта www.toyotaman.ru
2. Извлеките полуоси в сборе из картера переднего моста.
3. Снятие поперечной рулевой тяги.
а) С помощью специнструмента отсоедините поперечную тягу от нижнего рычага поворотного кулака.
б) Отверните два болта крепления кронштейна демпфера рулевого привода.

4. Отсоедините передний карданный вал.
5. Снятие трубок тормозной системы.
а) Отсоедините трубку со стороны рамы и снимите зажим.

б) Отверните болты крепления зажимов и снимите тройник в сборе со шлангом и трубками.

6. Отверните болты и снимите картер редуктора.
Внимание: будьте осторожны, не повредите установочные поверхности.

Установка редуктора
1. Установите новую прокладку.
2. Установите картер редуктора на передний мост и затяните две гайки и восемь болтов крепления.
Момент затяжки — 27 Н·м
3. Установка трубок тормозной системы.
а) Установите тройник в сборе со шлангом и трубками. Затяните болты крепления зажимов.
б) Подсоедините трубку со стороны рамы и установите зажим.
4. Подсоедините передний карданный вал.
5. Установка поперечной рулевой тяги,
а) Установите кронштейн демпфера рулевого привода и затяните два болта крепления.
Момент затяжки — 19 Н·м
б) Подсоедините поперечную тягу к нижнему рычагу поворотного кулака. Затяните корончатую гайку и установите шплинт.
Момент затяжки — 91 Н·м
6. Установите полуоси в сборе.
7. Установите сливную пробку.
8. Залейте в картер редуктора трансмиссионное масло.
Проверка редуктора
1. Проверка биения фланца ведущей шестерни главной передачи.
а) С помощью циферблатного индикатора измерьте осевое биение фланца.
Максимальное осевое биение — 0,10 мм

б) С помощью циферблатного индикатора измерьте радиальное биение фланца.
Максимальное радиальное биение — 0,10 мм

2. Проверка биения ведомой шестерни главной передачи.
а) Измерьте биение ведомой шестерни.
Максимальное биение — 0,10 мм

б) Если биение превышает максимальное значение, то замените ведомую шестерню главной передачи.
3. Проверка бокового зазора между зубьями ведомой и ведущей шестерен.
а) Установите индикатор на поверхности зуба под углом 90°.
б) Придерживая фланец ведущей шестерни, измерьте боковой зазор в зацеплении ведомой и ведущей шестерен.
Боковой зазор между зубьями ведомой и ведущей шестерен — 0,13-0,18 мм
Примечание: измерения проводите в трех или большем числе точек на периферии ведомой шестерни.

в) Если боковой зазор не соответствует установленному диапазону, отрегулируйте предварительный натяг бокового подшипника или в случае необходимости отремонтируйте.
4. Проверка предварительного натяга ведущей шестерни.
Измерьте предварительный натяг, обеспечиваемый зазором между зубьями ведомой и ведущей шестерен.
Предварительный натяг (начальный) — 0,9 -1,3 Н·м

5. Проверка общего предварительного натяга.
а) Измерьте общий предварительный натяг.
Общий предварительный натяг: к величине предварительного натяга ведущей шестерни добавьте 0,4-0,6 Н·м.
б) В случае необходимости разберите и проверьте дифференциал.
6. Проверка бокового зазора в зацеплении полуосевой шестерни.
а) Измерьте боковой зазор между зубьями на полуосевой шестерне, прижимая один из сателлитов к чашке дифференциала.
Допустимый зазор — 0,05 - 0,20 мм

б) Если значение зазора выходит за допустимые пределы, то следует установить упорные шайбы соответствующего размера.
Толщина упорных шайб — 1,6; 1,7; 1,8 мм
7. Проверка пятна контакта между зубьями ведущей и ведомой шестерен.
а) Нанесите красную краску на 3-4 зуба ведомой шестерни в трех разных местах.

б) Удерживая фланец ведущей шестерни, поверните ведомую шестерню в обоих направлениях.
в) Проверьте форму пятна контакта между зубьями шестерен.

г) Если ведущая шестерня расположена слишком далеко от центра ведомой шестерни, то увеличьте толщину регулировочной шайбы, чтобы сблизить ведомую и ведущую шестерни, или для регулировки бокового зазора отодвиньте ведомую шестерню от ведущей шестерни.
Толщина регулировочных шайб — 1,70 - 2,33 мм (с шагом 0,03 мм)

д) Если ведущая шестерня расположена слишком близко к центру ведомой шестерни, то уменьшите толщину регулировочной шайбы, чтобы отодвинуть ведомую шестерню от ведущей, или для регулировки бокового зазора подвиньте ведомую шестерню ближе к ведущей.

8. Проверка биения чашки дифференциала.
С помощью циферблатного индикатора измерьте биение чашки дифференциала.
Максимальное биение — 0,07 мм

