Задние барабанные тормоза. 1 - манжета, 2 - поршень, 3 - манжета поршня, 4 - колесный тормозной цилиндр, 5 - штуцер прокачки, 6 - пружина, 7 - тормозной щит, 8 - фиксатор, 9 - кронштейн коленчатого рычага, 10 - штифт, 11 - шплинт, 12 - штифт, 13 - пружинная шайба, 14 - пружина, 15 - коленчатый рычаг, 16 - манжета коленчатого рычага, 17 - стопорное кольцо, 18 - стопор, 19 - рычаг автоматической регулировки, 20 - задняя тормозная колодка, 21 - регулировочное устройство с возвратной пружиной, 22 - чашки фиксатора, 23 - крепежная пружина, 24 - пружина фиксатора, 25 - тормозной барабан, 26 - пружина регулировочного рычага, 27 - передняя тормозная колодка, 28 - рычаг разведения колодок, 29 - стопорное кольцо.

Снятие
1. Снимите заднее колесо и тормозной барабан.
Примечание: если тормозной барабан не может быть легко демонтирован, проделайте следующие операции:
- Пропустите отвертку через отверстие в тормозном щите и отведите рычаг автоматической регулировки от регулировочного болта.
- С помощью другой отвертки ослабьте регулировку тормозной колодки путем поворота регулировочного болта.

2. Снятие задней тормозной колодки.
а) Отсоедините возвратную пружину от задней тормозной колодки.
б) Снимите детали фиксатора (чашки и пружину) и фиксатор.
в) Снимите заднюю тормозную колодку и крепежную пружину.
3. Снятие передней колодки и регулировочного устройства.
а) Снимите детали фиксатора (чашки и пружину) и фиксатор.
б) Отсоедините регулировочное устройство и возвратную пружину от рычага разведения колодок.

в) Снимите пружину регулировочного рычага.

г) Отсоедините внутренний трос стояночного тормоза от рычага разведения колодок.
д) Снимите внутренний трос стояночного тормоза.

4. Снятие и разборка колесного тормозного цилиндра (при необходимости).
а) Отсоедините тормозную трубку. Слейте тормозную жидкость в резервуар.
б) Отверните два болта и снимите колесный цилиндр.
в) Снимите пыльники, поршни, манжеты поршней и удалите пружину из корпуса тормозного цилиндра.
6. В случае необходимости снимите и произведите разборку коленчатого рычага стояночного тормоза.
а) Снимите натяжные пружины.
б) Удалите шплинт.
в) Удалите штифт и пружинную шайбу, затем отсоедините трос привода стояночного тормоза.

г) Отверните два болта и снимите коленчатый рычаг стояночного тормоза.

д) Снимите манжету с кронштейна коленчатого рычага стояночного тормоза.
е) С помощью отвертки снимите стопорное кольцо и извлеките штифт.

ж) Снимите коленчатый рычаг стояночного тормоза с кронштейна.
з) Снимите манжету с коленчатого рычага.
Проверка
1. Измерьте толщину тормозной накладки. Если толщина накладки меньше минимального допустимого значения или износ накладки неравномерный, то произведите замену тормозных колодок.
Стандартная толщина — 5,0 мм
Минимальная толщина — 1,0 мм
Примечание: в случае необходимости замены любой из тормозных колодок должны быть заменены обе колодки для обеспечения равномерности торможения.

2. Измерьте внутренний диаметр тормозного барабана. Если барабан имеет задиры или повышенный износ, то он должен быть расточен до максимального внутреннего диаметра.
Максимальный внутренний диаметр:
- модели выпуска с 1993 — 297,0 мм
- модели выпуска до 1993 — 256,0 мм
Стандартный внутренний диаметр:
- модели выпуска с 1993 — 295,0 мм
- модели выпуска до 1993 — 254,0 мм

3. Проверьте контакт колодки с тормозным барабаном. Если контакт между колодкой и барабаном не соответствует нормам, произведите шлифовку накладки или замените всю тормозную колодку.
4. Проверьте колесный тормозной цилиндр на отсутствие следов коррозии или повреждений.
5. Проверьте тормозной щит на отсутствие износа или повреждений.
6. Проверьте детали коленчатого рычага на изгиб, износ или повреждения.
Замена тормозных колодок
1. С помощью отвертки отделите рычаг автоматической регулировки от передней колодки.
2. С помощью отвертки отделите рычаг колодки стояночного тормоза от передней колодки.

3. Установите рычаг разведения колодок на переднюю колодку и закрепите его новым стопором с помощью пассатижей.
4. Установите рычаг автоматической регулировки с новым стопорным кольцом.

Установка
Примечание: производите установку задних тормозов для каждого колеса, как показано на рисунке.
1. Сборка и установка колесного тормозного цилиндра.
а) Нанесите консистентную смазку на литиевой основе в пыльники, на манжеты поршней и сами поршни.

б) Установите пружину и манжеты поршней в корпус тормозного цилиндра.
Примечание: фланцы манжет поршней должны быть направлены внутрь.
в) Вставьте поршни в цилиндр и установите пыльники.
г) Установите колесный цилиндр на тормозной щит и закрепите его болтами.
Момент затяжки — 10 Н·м

д) Подсоедините тормозную трубку.
Момент затяжки — 15 Н·м
2. В случае необходимости произведите сборку и установку коленчатого рычага стояночного тормоза.
а) Нанесите консистентную смазку на литиевой основе на манжету рычага.

б) Установите манжету на коленчатый рычаг стояночного тормоза.
в) Установите коленчатый рычаг стояночного тормоза на кронштейн.
г) Установите штифт и закрепите его новым стопорным кольцом.

д) Закрепите коленчатый рычаг (в сборе) стояночного тормоза на тормозном щите с помощью двух болтов.
Момент затяжки — 13 Н·м
е) Соедините внутренний трос стояночного тормоза с коленчатым рычагом и закрепите с помощью штифта, пружинной шайбы и шплинта.
3. Нанесите тугоплавкую смазку на контактирующие поверхности колодок и тормозного щита (см. рисунок).

4. Нанесите тугоплавкую смазку на резьбу регулировочного болта и концевые участки устройства.

5. Установка внутреннего троса стояночного тормоза.
а) Подсоедините внутренний трос стояночного тормоза к коленчатому рычагу, как показано на рисунке.

б) Подсоедините внутренний трос стояночного тормоза к рычагу разведения колодок.
6. Соединение регулировочного устройства с передней колодкой.
а) Установите регулировочное устройство с возвратной пружиной на переднюю колодку.

б) Установите пружину регулировочного рычага.

7. Установка передней колодки.
а) Установите переднюю колодку на место и введите конец колодки в поршень.
б) Установите детали фиксатора (чашки и пружину) и фиксатор.

8. Установка задней колодки.
а) Установите крепежную пружину между передней и задней колодками.

б) Установите заднюю колодку на место и введите один ее конец в поршень.
в) Установите детали фиксатора, (чашки и пружину) и фиксатор.
г) Соедините заднюю колодку с возвратной пружиной.

9. Проверка работы механизма автоматической регулировки.
а) Переместите назад внутренний трос стояночного тормоза, чтобы рычаг автоматической регулировки отошел от регулировочного болта. Проверьте легкость вращения регулировочного болта. Если болт не вращается, проверьте правильность установки задних колодок.
б) С помощью регулировочного устройства установите минимальный зазор между колодкой и тормозным барабаном.
в) Установите тормозной барабан.
г) Перемещайте рычаг привода стояночного тормоза вверх и вниз до тех пор, пока не пропадет щелкающий звук.
[Полная статья размещена на сайте: toyotaman]
10. Проверка величины зазора между тормозными колодками и барабаном.
а) Снимите тормозной барабан.
б) Измерьте внутренний диаметр тормозного барабана и внешний диаметр тормозных колодок. Убедитесь в том, что разность этих диаметров обеспечивает получение необходимого зазора.
Зазор — 0,6 мм

в) Если зазор не соответствует нормам, то проверьте систему стояночного тормоза.
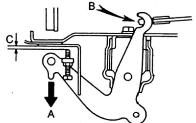
11. Регулировка коленчатого'рычага (в случае необходимости).
а) Слегка сдвиньте коленчатый рычаг в направлении "А" до тех пор, пока не будет выбран зазор у части "В".
б) Затем вращайте регулировочный болт до получения зазора "С".
Зазор "С" — 0,2-0,7 мм

в) Застопорите регулировочный болт контргайкой.
г) Установите две натяжных пружины.

12. Установите тормозной барабан и заднее колесо.
13. Заполните бачок тормозной жидкостью и прокачайте тормозную систему.
14. Проверьте систему на герметичность.
