Съдържание: Проверка на ротора ↓ Проверка на статора ↓ Проверка на четките ↓ Проверка на токоизправителя ↓ Проверка на лагери ↓
Проверка на ротора
1. Проверете дали има прекъсване на възбуждащата намотка.
С помощта на омметър измерете съпротивлението между контактните пръстени.
- Номинално съпротивление (в студено състояние) — 2,7 - 3,1 ома
Ако съпротивлението клони към безкрайност, т.е. веригата е отворена, след това сменете ротора.

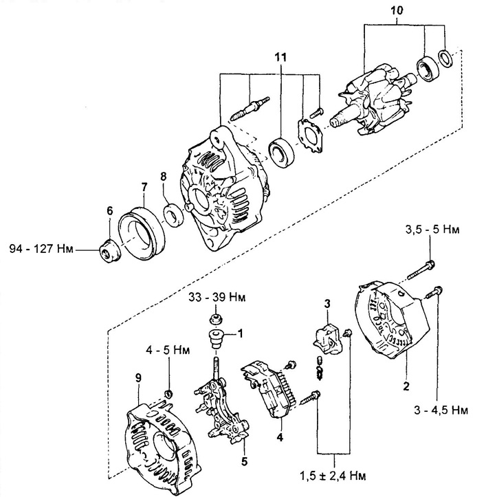
Демонтаж и монтаж на генератора.
1 - изходен изолатор,
2 - заден капак,
3 - четкодържач,
4 - регулатор на напрежението,
5 - токоизправителен блок,
6 - гайка,
7 - макара,
8 - дистанционер,
9 - тяло,
10 - ротор,
11 - страничен капак на задвижването.
2. Проверете дали възбудителната намотка е късо към маса.
С помощта на омметър измерете съпротивлението между полюса на ротора и контактния пръстен.
Ако съпротивлението е 0 (веригата е затворена), сменете ротора.

3. Проверете контактните пръстени.
a) Проверете работните повърхности на контактните пръстени. Те не трябва да имат неравности или стружки.
b) С помощта на дебеломер измерете диаметъра на контактните пръстени.
- Номинален диаметър - 14,2 -14,4 мм
- Минимално допустимо - 12,8 мм

Ако диаметърът на контактния пръстен е по-малък от минимално допустимия, сменете ротора.
Проверка на статора
1. Проверете дали има прекъсване на намотката на статора.
С помощта на омметър измерете съпротивлението между клемите на намотките на статора.

Ако съпротивлението клони към безкрайност, т.е. веригата е отворена, сменете статора.
2. Проверете дали намотката на статора е късо към маса.
С помощта на омметър измерете съпротивлението между корпуса на статора и клемите на намотките на статора.
Оригиналният източник се намира на уебсайта [ToyotaMAN.ru]

Ако съпротивлението е "0", т.е. веригата е късо, сменете статора.
Проверете регулатора на напрежението.
С помощта на омметър измерете съпротивлението между клемите на регулатора на напрежението.

Ако съпротивлението клони към безкрайност, т.е. веригата е отворена, сменете регулатора на напрежението.
Проверка на четките
1. Измерете дължината на изпъкналата част на четките.
- Номинална дължина - 10,5 мм
- Минимално допустимо - 1,5 мм

Проверка на токоизправителя
1. Проверка на положителния клапан.
a) Свържете отрицателната сонда на омметъра към положителния извод на токоизправителния блок и свържете положителната сонда последователно към всеки от останалите три извода.
Уверете се, че има проводимост (затворена верига) и в трите измерения.

b) Променете полярността на сондите на тестера и повторете процедурата в точка (c). Уверете се, че веригата е отворена и в трите измерения (съпротивлението клони към безкрайност).
Ако условията не са изпълнени, сменете токоизправителя.
2. Проверка на отрицателния клапан.
a) Свържете положителната сонда на омметъра към отрицателната клема на токоизправителя и свържете отрицателната сонда последователно към всеки от останалите три клеми. Уверете се, че има проводимост (затворена верига) и в трите измерения.

b) Променете полярността на сондите на тестера и повторете процедурата в стъпка (a). Уверете се, че веригата е отворена и в трите измерения (съпротивлението клони към безкрайност).
Ако условията не са изпълнени, сменете токоизправителя.
Проверка на лагери
1. Проверка на предния лагер. Уверете се, че задният лагер се движи плавно и без превъртане.

2. Сменете лагера, ако е необходимо.
a) Развийте 4 винта и отстранете държача на лагера.

b) С помощта на преса и гнездова глава с подходящ размер натиснете предния лагер.

c) С помощта на специален перфоратор и преса натиснете новия преден лагер в капака на генератора от страната на задвижването.

d) Поставете държача на лагера и затегнете 4-те винта, които го закрепват.
- Момент на затягане - 2,6 Nm
3. Проверка на задния лагер.
Уверете се, че задният лагер се движи плавно и без превъртане.

4. Сменете задния лагер, ако е необходимо.
a) С помощта на теглич отстранете задния лагер и капачката на лагера.

b) С помощта на преса монтирайте новия заден лагер върху вала на ротора.
c) Поставете капака на лагера.

