Ротор
1. С помощта на омметър измерете съпротивлението между контактните пръстени на колектора. Стойност на съпротивлението за генератор без електронен регулатор (в студено състояние) трябва да бъде в границите от 3,9 ома до 4,1 ома, а за генератор с електронен регулатор - от 2,8 до 3,0 ома.
При липса на проводимост (съпротивлението клони към безкрайност) сменете ротора.
2. Проверете дали възбудителната намотка не е съединена накъсо (роторна намотка) върху масата. С помощта на омметър измерете съпротивлението между контактния пръстен и полюсната част на ротора. Съпротивлението трябва да клони към безкрайност, в противен случай сменете ротора.
3. Проверете външните повърхности на контактните пръстени. Ако има груби петна или драскотини, сменете ротора. С помощта на шублер измерете външния диаметър на контактните пръстени на комутатора.
- Номинал - 32,3 - 32,5 мм
- Минимално допустимо - 32,1 мм
Ако диаметърът е по-малък от минималната стойност, сменете ротора.
Статор
1. С помощта на омметър проверете всички намотки на стартера за отворени вериги. Ако съпротивлението клони към безкрайност, сменете статора.
Забележка: в тази операция съответните (срещани) проводниците трябва да бъдат запоени.

2. Проверете дали намотките на статорната намотка са късо към маса. С помощта на омметър измерете съпротивлението между проводниците на намотката и сърцевината на статора. При наличие на проводимост (намотката е късо към маса) сменете статора.

Четки
1. Измерете дължината на изпъкналата част на четките.
Номинална дължина на изпъкналата част на четките на генератора:
- с механичен регулатор - 12,5 мм
- с електронен регулатор - 16,5 мм
Минимално допустимата дължина на изпъкналата част на четките е 5,5 мм
Ако дължината е по-малка от минималната допустима стойност, сменете четките.

2. Сменете четките (ако е необходимо).
a) Разпоете проводника на четката и отстранете четката и пружината.

b) Прекарайте телта на четката (нова) през пружината.
c) Поставете новата четка заедно с пружината в държача на четката.
г) Запоете проводника на четката към клемата на държача на четката, така че дължината на изпъкналата част на четката да е 12,5 mm за генератор с механичен регулатор на напрежението и 16,5 mm за генератор с електронен регулатор на напрежението.

d) Проверете дали четката се движи гладко в държача на четката.
e) Използвайте резачки за тел, за да отрежете излишната част от телта на четката.
Токоизправителен блок
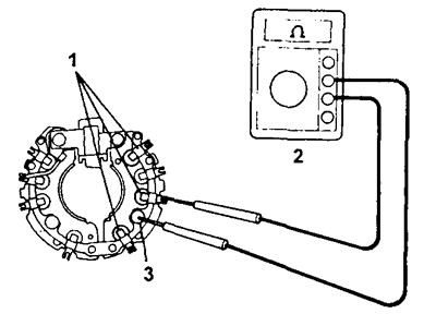
1. Проверете положителните клапани.
a) Свържете единия проводник на омметъра (1) към положителния извод (щипка) (2) на токоизправителния модул, а другия на свой ред към другите изводи (3).
b) Променете полярността на проводниците на омметъра и повторете предишната процедура.
в) Уверете се, че в първия случай омметърът показва наличието на проводимост, а във втория случай - липсата му.
В противен случай сменете токоизправителя.
Генератор модели 40А и 45А.
1 - клеми на токоизправителния блок;
2 - омметър;
3 - положителен извод на токоизправителния блок (шпилка).
Генератор модели 50А и 55А.
1 - клеми на токоизправителния блок;
2 - омметър;
3 - положителен извод на токоизправителния блок (шпилка).
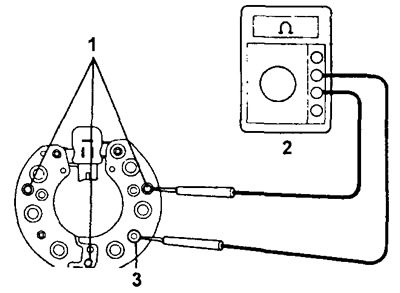
2. Проверете отрицателните клапани.
a) Свържете единия проводник на омметъра (1) към отрицателния извод (щипка) (2) на токоизправителя, а другия на свой ред към другите изводи (3).
b) Променете полярността на проводниците на омметъра и повторете предишната процедура.
в) Уверете се, че в първия случай омметърът показва наличието на проводимост, а във втория случай - липсата му.
В противен случай сменете токоизправителя.
1 - Генератор модели 40А и 45А;
2 - клеми на токоизправителния блок;
3 - омметър;
4 - отрицателна клема на токоизправителния блок (шпилка).
Генератор модели 50А и 55А.
1 - клеми на токоизправителния блок;
2 - омметър;
3 - отрицателна клема на токоизправителния блок (шпилка).
Лагери
Проверете предните и задните лагери, за да се уверите, че се въртят гладко и без блокиране. В противен случай сменете лагерите: за да свалите предния лагер, просто свалете предния капак, а за да свалите задния лагер, използвайте подходящ теглич.
